Что такое химическая технология энергонасыщенных материалов и изделий

18.05.01 Химическая технология энергонасыщенных материалов и изделий

кафедра «Технология твердых химических веществ»

Вступительные испытания в 2021 году (минимальный балл)

Выпускающая кафедра

Кафедра «Технология твердых химических веществ».

Информация по образовательной программе

Кафедра «Технология твердых химических веществ» осуществляет подготовку инженеров по программе специалитета по специальности 18.05.01 — «Химическая технология энергонасыщенных материалов и изделий» специализации № 3 «Технология энергонасыщенных материалов и изделий».

Специалисты обладают знаниями технологических процессов производства специальных изделий, технологической безопасности, охраны труда, проектирования с применением систем автоматизации; владеет методами моделирования, навыками теоретических и экспериментальных исследований в области разработки новых технологий изготовления специальных изделий, как для оборонной, так и гражданской отраслей энергонасыщенных материалов.

Будущая профессия

Специалисты, выпускаемые кафедрой, могут работать инженерами-технологами в производственных подразделениях и технических службах предприятий оборонно-промышленного комплекса нашей страны; военными инженерами; инженерами-взрывотехниками на предприятиях горной и химической промышленности, геофизики; инженерами-конструкторами; экспертами по промышленной безопасности в области работ с энергонасыщенными материалами и изделиями, инспекторами Ростехнадзора России; научными работниками в научно-исследовательских и проектных организациях и институтах, преподавателями высших учебных заведений. Выпускники специализации «Технология энергонасыщенных материалов и изделий» работают практически на всех предприятиях оборонной отрасли России. Регулярное трудоустройство выпускников происходит по заявкам компаний-партнеров кафедры ТТХВ.

Область профессиональной деятельности выпускника включает:

Виды профессиональной деятельности выпускника:

Основные дисциплины

Студенты изучают следующие дисциплины:

Источник

Химическая технология материалов

Химия – это сложный предмет изучения, который, тем не менее, является крайне полезным и незаменимым при изготовлении и переработке различных материалов. На данный момент сложно представить промышленную отрасль, которая не нуждалась в материалах, которые можно было бы добыть, не прибегая к различным химическим технологиям.

На данный момент человеческую жизнь сложно представить без различных продуктов переработки газа и нефти. Без них мы бы не знали что такое газовые плиты, бензин для автомобилей и самолетов, различное топливо, смазки и масло, а также многие виды сырья.

Добычей и изготовлением всего этого занимаются специалисты по химической технологии энергоносителей и углеродных материалов.

Переработка нефти и газа осуществляется на больших предприятиях и заводах.

Химическая технология природных энергоносителей и углеродных материалов изучает переработку нефти, газа и различного сырья, а также получения жидкого, твердого и газообразного топлива, композиционных материалов, различных масел и прочего.

Химик-технолог, а также инженер, специализирующийся в этой отрасли, работает с различными твердыми и жидкими ископаемыми углеводородами и аппаратами для сложных технологических процессов. В его задачу входит оптимизация процесса добычи и обработки материалов, различные исследования, эксперименты и постоянный анализ. Это сложная профессия, однако, она чрезвычайно полезна.

Химическая технология энергонасыщенных материалов и изделий

Широкое применения энергонасыщенных материалов влияет на развитие множества отраслей человеческой жизни: военного дела, экономики, науки, техники.

Благодаря этим веществам люди получают некоторые виды электроэнергии, могут прогнозировать землетрясения и производить поиск полезных ископаемых. Энергонасыщенные материалы помогают бороться с ливнями, засухой и градами, с их помощью тушат пожары.

Химическая технология энергонасыщенных материалов и изделий подразумевает собой добычу этих самых материалов, различные инженерные расчеты, испытания полученных веществ.

Химик-технолог, ко всему прочему, занимается анализом сырья для получения веществ, готовит инструкцию по их использованию, проводит различные научные исследования.

Химические технологии в композиционных материалах

Композиционные материалы – это те вещества, которые состоят из различных компонентов, которые отличаются между собой физико-механическими свойствами. К примеру, металлические матрицы, соединенные с неметаллическими аналогами. Еще одним примером такого вещества может стать обыкновенная фанера.

Композиционные материалы бывают волокнистыми, дисперстно-упрочненными, а также слоистыми. Этот вид веществ был выведен специалистами химиками тогда, когда остро возникла необходимость в расширении основной базы рабочего сырья.

При изготовлении такого материала нужно точно соблюдать все необходимые пропорции, ведь если добавить чуть большее, или чуть меньшее количество того или иного материала, можно получить совершенно новый продукт с непредсказуемыми свойствами.

В настоящее время композиционные материалы массово используются в промышленности. К примеру, в 30-х годах прошлого века, стали активно строиться суда из стеклопластика. Композиционные продукты используются также в авиа и аэрокосмическом строении.

Для получения композиционных материалов, используются различные химические компоненты такие, как специальная термореактивная смола. В целом, при производстве подобных веществ задействуется исключительно химическая технология. Выполняется эта работа на заводах и в специальных промышленных отделах.

Компании, разрабатывающие новые технологии производства материалов

В России на данный момент существует множество компаний, которые стараются оптимизировать производство различных материалов, упростить процесс их добычи и переработки. Именно в них были разработаны все химические технологии, о которых было написано выше.

В этих компаниях специалисты занимаются постоянными научными исследованиями, экспериментами и анализом важнейших процессов добычи самых разнообразных материалов. Высококвалифицированные инженеры разрабатывают технологии, а химики позволяют на практике проверить ту или иную идею.

Химические технологии неорганических веществ

Базовой составляющей любой химической деятельности, а также промышленности являются вещества неорганического происхождения, к которым относят кислоты, соли и щелочи.

Именно по масштабам химического производства неорганических реактивов и ряда сопутствующих необходимых материалов судят о мощи отрасли и масштабе тяжелой промышленности в целом.

Потому химическая технология неорганических веществ – это наука, которая представляет собой объемный комплекс методик по переработке исходного сырьевого материала в производственные средства или предметы массового потребления в приоритетных отраслях народного хозяйства.

Виды химических технологий неорганических веществ

Отметим, что процессы химических технологий принято делить на базе кинетических закономерностей протекания в основные производственные пять фаз:

В свою очередь все процессы химических технологий бывают постоянными и периодичными.

На сегодняшний день химическая технология неорганических веществ является одним из ведущих направлений в тяжело-промышленном секторе, т.к. в неё входят сложнейшие фазы, при которых происходит глубокое переформирование химических составляющих.

Например, процедуры по получению оксидов алюминия из глинозема.

Химические технологии неорганических веществ для развития тяжелой промышленности

В условиях интенсивного развития тяжелой промышленности в последние десятилетия она смогла образовать свою собственную отдельную отрасль, на специалистов которой с каждым годом увеличивается спрос.

Ведь в распоряжении химика-технолога имеется огромный перечень применения своих профессиональных знаний и навыков, начиная от научных изысканий и заканчивая производственной деятельностью на промышленных предприятиях.

Ведь специалисты химических технологий в процессе обучения знакомятся с необходимым спектром физико-химических способов и методологий получения нужных материалов из неорганического сырья.

Области применения химических технологий неорганических веществ

Профессиональная деятельность молодых специалистов напрямую связана с изготовлением:

Стоит отметить, что подавляющее число химиков-технологов также работают в смежных областях тяжело-промышленного комплекса, таких, как:

Помимо этого инженеры-технологи весьма востребованы на производстве строительных и отделочных материалов, предприятиях, которые способствуют улучшению экологии и развитию химических технологий.

Особенности химических технологий неорганических веществ материалов и изделий

Под понятием химическая технология неорганических веществ материалов и изделий скрывается сложнейшая наука о химическом производстве.

Специалисты в данной области производят глубокие изменения материалов, используя при этом знания и умения в области объединения химических процессов и физические, механические манипуляции.

Подобные работы проводятся в промышленных масштабах, и в результате такого труда удается получить материалы, которые нельзя найти в природе.

Как правило, работы такого рода проводятся над полимерами органического типа, и в результате получаются композиционные материалы с полимерами в основе, которые могут обладать прочностью большей, чем имеет сталь.

Также в рамках данной сферы деятельности можно видеть катализаторы, которые сводят уникальные превращения из сложного химического процесса в единую стадию, покрытия, которые могут противостоять сильнейшим окислителям, и массу других полезных материалов.

Исследования в этой области активно ведутся по сей день, и многие из последних открытий становятся толчком для серьезного прогресса в самых разных сферах деятельности.

Интерес к этому направлению в полной мере оправдан, но получить всю актуальную информацию касаемо новых достижений в полном объеме не всегда бывает просто.

Актуальность и перспективы химических технологий неорганических веществ

Почему химическая технология неорганических веществ материалов и изделий стала рассматриваться в последние годы настолько внимательно и глубинно?

Интерес оказывается совсем не случайным, и он напрямую связан со стратегией развития дальневосточных регионов России, где на данный момент формируется развитие отрасли глубинной переработки нефтепродуктов – делается все для того, чтобы Россия перестала продавать нефть в виде сырья, что активно делалось в последние десятилетия, и занялась экспортом продукции высокотехнологичного характера.

В Приморье в ближайшие годы будут строиться и вводиться в эксплуатацию крупные предприятия по высокотехнологичной переработке нефти, газа и угля, и ряд этих производств уже начал строиться.

Крупнейшие нефтедобывающие компании рассматривают возможность создания собственных комплексов того же типа, ведь это экономически выгодно и эффективно.

В то время как нефть сама по себе хоть и котируется как черное золото, однако остается относительно дешевым продуктом, созданные из нее высокотехнологичные материалы могут иметь совсем другую стоимость и обладать непосредственной ценностью как для отечественной, так и для заграничной индустрии.

Также в планах развития нефтяной промышленности намечается наращивание мощностей тех перерабатывающих предприятий, что уже имеются и выполняют свою работу, и объектов по переработке угля.

Масштабных проектов существует немало, и все они постепенно реализуются, так как перспективы за ними стоят большие, и современная промышленность нуждается в полимерах, созданных по современным технологиям.

Вполне закономерный интерес проявляется и к молодым специалистам и к новым технологиям, позволяющим работать еще более эффективно и рационально, и потому данную сферу можно назвать в полной мере перспективной и интересной во всех отношениях, а ту продукцию, которую она производит и будет производить, – востребованной и совершенно необходимой при современном уровне технического прогресса.

Эта тема очень широка, и именно профильные мероприятия позволяют рассмотреть максимум современных возможностей и прочих нюансов, характерных для нынешнего дня.

Современные химические технологии неорганических веществ материалов и изделий на выставке

Однако данные проблемы совсем не значат необходимости отказа от следования современному прогрессу, ведь специально для реализации таких возможностей проводятся тематические мероприятия, такие как выставки, к примеру.

Так, в частности, выставки такого характера часто проводятся в ЦВК «Экспоцентр», и в дни их проведения здесь присутствуют сотни и тысячи специалистов из данной и смежных сфер деятельности.

Все специалисты выставки «Химия» нацелены на активную работу в рамках выставки, и поэтому подобные выставки позволяют за минимальный отрезок времени добиться тех аспектов, на достижение которых в других случаях необходимы более серьезные сроки.

Именно подобные мероприятия позволяют:

Все данные и другие возможности предоставляются в рамках профессиональных мероприятий легко и просто, и поэтому не нужно отказываться от посещения подобных мероприятий, тем более что данная возможность не занимает большого объема времени или больших средств.

Выставка – это просто и целесообразно, это шанс ознакомиться с нужными и важными решениями, особенно когда идут рассуждения о подобной интересной теме.

Химические технологии природных энергоносителей и углеродных материалов

Химическая технология природных энергоносителей и углеродных материалов – это множество средств и методов переработки газа, нефти, сланцев и углехимического сырья для получения специальных видов иного топлива в твердом, жидком и газообразном виде.

Также к этим методикам относиться:

Данные методы являются предметом изучения таких наук, как нефтехимия и углехимия. Они охватывают несколько взаимосвязанных частей:

Но все они – комплексы методов применения в процессах и способах переработки химического сырья, энергоносителей и иных промежуточных материалов, важных для отрасли.

Специфика химических технологий в энергетике и переработке углеродного сырья

Все процессы, связанные с переработкой и получением необходимых веществ, несмотря на их широкий выбор и многообразие, делятся на несколько родственных и однотипных групп. В каждой из них применяются сходные модели аппаратуры.

Таких групп всего пять:

В любом химическом производстве одновременно встречается почти все пять подгрупп процессов, которые, в свою очередь, делятся на периодические и непрерывные.

Заметим, что эти технологии имеют ряд существенных преимуществ для химической промышленности и химии. Ведь они направлены на разработку планов, программ и методик проведения исследований материалов и процессов, являющихся объектом производства, на создание теоретических моделей для прогнозирования свойств материалов современной энергетики.

А также на разработку новых схем, данных для проектирования новых технологических процессов и оборудования.

Химические технологии природных энергоносителей и углеродных материалов на выставке

С пятидесятых годов прошлого столетия в павильонах ЦВК «Экспоцентр» проводится интернациональная экспозиция «Химия», которая направлена на максимальное развитие данной индустрии. Отдельный предмет рассмотрения этого выставочного форума – процессы химической переработки веществ.

Стоит отметить и заслуги самого ЦВК «Экспоцентр» в столь стремительном развитии химической отрасли, поскольку выставочный комплекс собирает на своих площадках только профессионалов.

Химические технологии материалов в современной энергетике

Создание эффективных, экономичных и безопасных источников энергии – одно из ключевых направлений деятельности целого ряда областей науки в современном мире.

Современная энергетика переживает переломный момент – энергоресурсы, которые применялись в последние 100-150 лет (нефть, газ, уголь), наносят ущерб окружающей среде как при использовании, так и при добыче, при этом эффективность их использования низкая, а издержки на добычу, переработку, транспортировку – очень высокие.

Во всем мире энергетика ищет альтернативные энергоресурсы, а также разрабатывает новые технологии для повышения эффективности и снижения вредного влияния при использовании углеводородов и ядерного топлива. В этом направлении современная энергетика не может обойтись без применения химических технологий, поиска новых материалов, а также разработки средств и методов получения энергии из этих материалов.

Важность данного направления работы осознают и в зарубежных странах, и в России. Не случайно большинство российских вузов ввели в свою программу обучение специалистов по химическим технологиям материалов современной энергетики.

Специалисты в области химической технологии материалов современной энергетики работают преимущественно с ядерно-химическими процессами, а также технологиями переработки природного сырья, ядерного топлива и ядерных отходов. Они осуществляют разработку и внедрение технологических процессов, планов, методик проведения исследовательских и аналитических работ, разрабатывают новые и совершенствуют существующие способы получения, использования, переработки и утилизации безопасных и высокоэффективных видов энергоресурсов.

Перед специалистами в данной области стоят задачи по писку возможностей обеспечения промышленности, энергетики, транспорта эффективными энергоресурсами, разработке технологий их получения и безопасного использования, разработке новых технологий и оборудования для работы с этими энергетическими ресурсами. Эти специалисты работают в сфере атомной энергетики, а также других отраслях нетрадиционной энергетики.

Отдельным направлением работы специалистов по химическим технологиям в области энергетики является обеспечение радиационной и химической безопасности на энергетических, промышленных, научно-исследовательских объектах.

Перспективы химической технологий материалов в современной энергетике

Без развития химических технологий материалов развитие атомной энергетики невозможно. Поэтому это направление химической индустрии является одним из наиболее перспективных и получает широкую поддержку от государства.

Химики-технологи работают и в нефтегазовой отрасли – химические технологии используются для совершенствования способов добычи, подготовки и переработки нефти, природного газа, нефтепродуктов. Кроме того, химическая наука постоянно ищет новые источники энергии и способы работы с ними.

Эти направления также пользуются поддержкой государства, так как обладают высоким приоритетом и большим значением для экономики и обороноспособности страны.

Химические технологии энергоемких материалов

На сегодняшний день химическая технология энергоемких материалов является предметом особого интереса, она активно изучается в вузах и оказывается полезной на практике, потому как сами энергоемкие материалы пользуются большим спросом и активно применяются в самых разных сферах деятельности.

Энергоемкие материалы – это вещества, имеющие высокую температуру сплава, которые способны выпускать или хранить большие объемы энергии при определенных температурах.

Работа с ними имеет огромный потенциал, и новые разработки в области технологий ведутся чрезвычайно активно – современные наработки выходят в свет регулярно. Но ознакомиться с ними не всегда бывает просто, ведь следует понимать, что данное направление имеет свою специфику, а кроме того, и задачи здесь имеются самые разные.

К счастью, все эти задачи и сложности никогда не предполагают необходимости отказа от актуальных достижений прогресса, ведь именно для реализации таких возможностей проводятся профессиональные мероприятия, такие как выставки.

И выставки на данную тему регулярно бывают в ЦВК «Экспоцентр» (например, выставка Химия), и в часы их прохождения здесь собираются тысячи специалистов и предпринимателей из этой и близких по специфике сфер деятельности.

Специалисты нацелены на активную работу в рамках мероприятия, и по этой причине подобные выставки позволяют за считанные часы или дни добиться тех целей, на достижение которых в иных условиях требуются куда большие сроки.

Именно подобные мероприятия предоставляют такие шансы:

Все эти и многочисленные иные возможности предоставляются в рамках таких выставок с полной легкостью, и поэтому не стоит отказываться от посещения выставок, тем более что подобная практика не требует большого количества времени или особых вложений.

Выставка – это удобно и целесообразно, это возможность ознакомиться с впечатляющими решениями, в особенности когда приходится говорить о такой глубокой теме.

Особенности технологий энергоемких материалов

Когда рассматривается такая тема, как химическая технология энергоемких материалов, нельзя оставлять в стороне сами базовые понятия касаемо этих веществ. Так, твердо-жидкие материалы такого типа изначально ведут себя как материалы разумного теплового хранения.

Энергоемкие материалы поглощают тепло, при этом их собственная температура повышается. В дальнейшем они могут достигать температуры изменения своей фазы, то есть своей плавящей температуры, и тогда при фактически постоянной температуре они начинают поглощать тепло в больших количествах.

Теплопоглощение будет продолжаться до тех пор, пока к жидкой фазе не придет весь материал, и на протяжении этого периода их температура будет оставаться постоянной.

В ситуации, когда вокруг жидкого материала начинает опускаться температура, вещество начинает укрепляться, выпуская при этом скрытое тепло, которое было им аккумулировано.

Температура активности таких процессов для разных веществ данного типа может быть различной. И тут стоит отметить, что существуют варианты, работающие в диапазоне комфорта человека, в температурах порядка 20-30 градусов, радуя своей эффективностью, поскольку аккумулирование тепла в рамках единичного объема здесь оказывается в 5-14 раз выше, нежели в случае с водой, камнем или кирпичной кладкой.

Данные вещества могут иметь разное происхождение и тип, и потому они подлежат классификации. Разные варианты материала могут иметь собственные свойства, плюсы и минусы.

Так, к примеру, если рассматривать жирные кислоты и керосин, то здесь радует возможность их замораживания без сильного переохлаждения, совместимость с привычными строительными материалами, нерадиоактивность и безопасность, стабильность в химическом плане, способность к нормальному таянию, отсутствие сегрегации, сплав при высоких температурах.

Однако в твердом состоянии эти вещества разочаровывают своей низкой теплопроводностью, огнеопасностью, а порой и высокой стоимостью.

Из неорганических веществ к этой группе можно отнести соленые гидраты, которые обладают невысокой стоимостью и большой доступностью. Они имеют высокие температуры сплава и теплопроводность, не воспламеняются. Но при этом их объем сильно меняется, в твердо-жидком переходе огорчают суперохлаждением, повторному использованию нередко не подлежат.

Также в качестве энергоемких материалов порой рассматривают гигроскопические материалы и эвтектики, которые тоже порой могут приносить немало пользы.

Источник

Реферат: «Химические технологии энергонасыщенных материалов и изделий»

ФЕДЕРАЛЬНОЕ АГЕНТСТВО ПО ОБРАЗОВАНИЮ РФ

Государственное образовательное учреждение

высшего профессионального образования

«Алтайский государственный технический университет

имени И.И. Ползунова»

Бийский технологический институт (филиал)

С.Л. Раско, А.Г. Овчаренко

ЭКСПЛУАТАЦИОННАЯ БЕЗОПАСНОСТЬ
КОНДЕНСИРОВАННЫХ ВЗРЫВЧАТЫХ ВЕЩЕСТВ

Рекомендовано Сибирским региональным учебно-методическим
центром высшего профессионального образования
для межвузовского использования в качестве учебного пособия
для студентов, обучающихся по направлениям «Химические технологии энергонасыщенных материалов и изделий» и «Горное дело»
при изучении раздела дисциплины «Безопасность жизнедеятельности»

Раско, С. Л. Эксплуатационная безопасность конденсированных взрывчатых веществ: учебное пособие / С.Л. Раско, А.Г. Овчаренко.

В пособии изложены материалы по основам эксплуатационной безопасности при использовании конденсированных взрывчатых веществ. Обобщены научные и практические достижения в этой области на основе известных работ, приведены конкретные примеры. Даны основные положения теории и физические основы термодинамики взрывчатых веществ, критерии безопасности и некоторые методы их определения, а также основные меры по обеспечению безопасности при использовании взрывчатых веществ.

Учебное пособие содержит дополнительные сведения, необходимые для изучения раздела «Взрывная безопасность» курса «Безопасность жизнедеятельности». Рекомендуется студентам вузов, обучающимся по направлениям «Химические технологии энергонасыщенных материалов и изделий» и «Горное дело». Будет полезным для специалистов предприятий и организаций, занимающихся эксплуатацией взрывчатых веществ.

Рецензенты: д.т.н., профессор зав. каф. «Безопасность
жизнедеятельности» АлтГТУ им. И. И. Ползунова
Мироненко В. Ф.

д.т.н. нач. отдела промышленных ВВ
ФГУП ФНПЦ «Алтай» Петров Е. А.

ã Раско С.Л., Овчаренко А.Г., 2006

1.1 Анализ опасности взрывчатых веществ__________________

1.2 Область применения взрывчатых веществ________________

2 ОСНОВНЫЕ ПОЛОЖЕНИЯ ТЕОРИИ ВЗРЫВЧАТЫХ
ВЕЩЕСТВ_______________________________________________

2.1 Основные типы взрывчатых веществ и их классификация___

2.2 Средства воспламенения и инициирования________________

2.3 Смесевые взрывчатые вещества_________________________

2.4 Физико-химические основы взрывных превращений_______

2.5 Горение взрывчатых веществ___________________________

2.6 Возбуждение взрывных превращений и начальный
импульс_________________________________________________

3 физические основы термодинамики
ВЗРЫВЧАТЫХ ВЕЩЕСТВ_________________________________

3.1 Энергетические характеристики________________________

3.2 Стойкость взрывчатых веществ_________________________

3.3 Разрушающие факторы взрывчатых веществ______________

4 критерии безопасности ВЗРЫВЧАТЫХ ВЕЩЕСТВ____

4.1 Чувствительность к тепловому импульсу_________________

4.2 Чувствительность к механическим воздействиям__________

4.3 Критерии оценки взрывоопасности при вибрации__________

4.4 Чувствительность ВВ к разрядам статического
электричества_____________________________________________

4.5 Чувствительность ВВ к совместному воздействию_________

5 обеспечение безопасности при эксплуатации взрывчатых веществ_________________________________

5.1 Оценка разрушающей способности взрывов и безопасности человека от ударной волны_________________________________

5.2 Токсичность взрывчатых веществ и продуктов взрыва______

5.3 Оценка безопасности при механических воздействиях______

5.4 Оценка электростатической безопасности
при эксплуатации ВВ ______________________________________

5.5 Безопасность взрывных работ при наличии блуждающих
токов____________________________________________________

Взрывчатые вещества (ВВ) как высококонцентрированный и экономичный источник энергии кроме оборонной отрасли широко применяют в различных отраслях народного хозяйства. Около 90 % всего объёма руд цветных и черных металлов в нашей стране добывают взрывным способом. Более 80 % всех промышленных ВВ используется в горнорудной промышленности. Массовые взрывы широко используются в строительстве, при сооружении плотин и насыпей, прокладке магистралей, водных каналов, нефтегазопроводов. Продолжается поиск и исследование дальнейших путей использования и управления энергией взрыва. В настоящее время применяется взрывной способ производства некоторых особенно ценных минералов и искусственных материалов, ускоряются отдельные химические процессы с использованием сверхвысоких давлений взрыва, проводятся работы по искусственному дождеванию, внедряются методы взрывного бурения.

Наряду с интенсификацией производственных процессов с использованием высокоэффективных ВВ и разработкой современных ВВ с более чувствительными компонентами выдвигаются повышенные требования безопасности работ на всех этапах соприкосновения человека с взрывчатыми материалами. Проблема безопасности была и остается актуальной на стадиях проектирования, подготовки, испытания, изготовления и применения ВВ.

Безопасность различных видов взрывных работ в значительной степени зависит от теоретических знаний и накопленного опыта при создании безопасных технологий. При контактировании человека с взрывчатыми материалами большую роль играет психологический фактор, когда понимание механизма процессов взрывного превращения позволяет более уверенно и качественно выполнять требования инструкций, правил и других нормативных документов.

К сожалению, как показывает практика, аварии и взрывы с человеческими жертвами часто происходят по причине несовершенства отдельных технических средств, ошибочных действий производственного персонала и руководителей предприятий, а также нарушений требований технологической документации вследствие безответственного отношения к работе и недостатка знаний в области безопасности технологических процессов.

Следовательно, необходимо постоянно обновлять знания в области безопасности технологических процессов всем работникам предприятий, проектных организаций и органов надзора.

В предлагаемом читателю пособии изложены материалы по основам эксплуатационной безопасности при использовании конденсированных ВВ. Под конденсированными взрывчатыми веществами понимаются порошкообразные, твердомонолитные, гранулированные, чешуированные, пластичные, эластичные, пастообразные, желеобразные и жидкие взрывчатые вещества. Обобщены научные и практические достижения в этой области на основе исследований различных ученых, приведены конкретные примеры.

В первом разделе дан краткий анализ опасности ВВ, которые при определенных обстоятельствах приводят к аварийной ситуации или катастрофам.

Во втором и третьем разделах изложены основные положения теории и термодинамики ВВ. Материал представлен в объёме, необходимом для понимания процессов возникновения и развития взрывных превращений. При этом использованы труды зарубежных и российских ученых.

В пятом разделе дана оценка обеспечения безопасности при эксплуатации и испытании промышленных ВВ. Описаны критерии разрушающей способности взрыва и токсичности продуктов после взрыва. Приведена оценка электростатической безопасности и безопасности взрывных работ при наличии блуждающих токов.

В учебном пособии отражается круг вопросов по эксплуатационной безопасности ВВ, который является дополнительным материалом при изучении раздела «Взрывная безопасность» курса «Безопасность жизнедеятельности», рекомендуется студентам вузов, обучающимся по направлениям «Химические технологии энергонасыщенных материалов и изделий» и «Горное дело», а также будет полезным для специалистов предприятий и организаций, занимающихся эксплуатацией взрывчатых веществ.

Авторы не претендуют на всю полноту рассматриваемого вопроса, поэтому с благодарностью примут все пожелания и замечания по данному учебному пособию.

1.1 Анализ опасности взрывчатых веществ

В нашей стране многие годы было принято, что тема трагических событий и катастроф в сфере материального производства всегда оставалась закрытой для широкой общественности. Информация о крупномасштабных взрывах и пожарах, валовых выбросах токсичных продуктов была весьма приблизительной, а о гибели людей и других тяжелых последствиях знали лишь должностные лица, не заинтересованные, как правило, в широкой огласке. Является неполной и информация о катастрофах прошлого века за рубежом в Фликсборо, Сан-Хуан-Иксуатепеке, в Бхопале и многих других местах, где погибли тысячи работающих и часть населения, проживающего вблизи промышленных объектов.

Потребовались трагические события на Чернобыльской АЭС, магистральном трубопроводе сжиженного нефтяного газа под Уфой, в хранилище жидкого аммиака в Ионаве (Литва), на нефтеперера-батывающей установке Ярославля, чтобы общество начало осознавать необходимость переоценки уровня существующей технической безо-пасности применяемых технологий, оборудования, систем управления и защиты от промышленных аварий и катастроф.

Что такое химическая технология энергонасыщенных материалов и изделий. 8899215. Что такое химическая технология энергонасыщенных материалов и изделий фото. Что такое химическая технология энергонасыщенных материалов и изделий-8899215. картинка Что такое химическая технология энергонасыщенных материалов и изделий. картинка 8899215. Кафедра «Технология твердых химических веществ».

Действие взрыва на расстоянии было исключительное. В 7 км от бухты телеграфист был убит ударом о стену. В 10 км севернее города была разрушена колония индейцев, и многие из них были погребены под развалинами. Даже на расстоянии 100 км были выбиты оконные стекла.

6 июня 1989 г. газета «Правда» сообщила о трагедии вблизи железнодорожной станции г. Арзамаса. Утром 4 июня взлетели на воздух три крытых вагона с промышленными ВВ, предназначенными для геологов, горняков, строителей. Общая масса ВВ составляла 120 тонн.
В результате взрыва были разрушены большой жилой массив, станционные постройки; погибло большое число людей. Очевидцы наблюдали, что вначале возник высокий столб пламени, затем прошел гул, и в небо начал подниматься серый «гриб». Из первых сообщений стало известно, что погибли 68 человек, полностью разрушено 150 жилых домов. О силе взрыва можно судить также из сообщений очевидцев, наблюдавших, как за километр от места взрыва летели куски рельсов, в кирпичном здании на расстоянии 0,5 км от железной дороги наблюдались пробоины в полуразрушенных стенах. На железнодорожном пути на месте взрыва образовалась воронка «вполовину футбольного поля» и глубиной около 30 м. За взрывом последовал пожар от воспламенения природного газа, выходящего из разрушенного магистрального подземного трубопровода, который пересекал железнодорожный путь. В сообщениях газет упоминалось о материальном ущербе, исчисляемом в 400 млн. руб.

Данные примеры показывают колоссальную мощность источников энергии ВВ, которые могут кроме полезного действия принести сокрушительные разрушения с негативными последствиями.

В химической индустрии мира в среднем каждые 2 месяца происходит одна катастрофа. За период с начала 1984 г. до конца первого полугодия 1985 г. зарегистрировано 90 крупных аварий, при которых погибло около 5 тысяч человек. Более половины промышленных катастроф в период 1900-1990 гг. приходится на 1970-1990 гг., причем треть из них – на 80-е годы; одновременно возрос их разрушительный эффект.

На химико-технологических объектах нашей страны за 1980-2000 гг. произошло примерно 180 крупных промышленных взрывов с тяжелыми последствиями. Отмечается неуклонное увеличение их числа за последние годы [2]. При этом локальные взрывы и пожары, ежегодное число которых исчисляется тысячами, при неблагоприятном стечении обстоятельств могут вызвать цепное развитие аварий до катастрофических масштабов.

1.2 Область применения взрывчатых веществ

На протяжении многих веков ВВ состоят на службе у человека.
И сегодня существуют области человеческой деятельности, где без взрывчатых веществ обойтись невозможно. Это использование их в военном деле и в промышленных целях.

Для доставки боеприпасов до цели широко используются метательные ВВ – пороха. Пороховой заряд сообщает боеприпасу скорость, необходимую для его переброски на дальние расстояния или поражения быстродвижущихся целей.

Приведенными примерами не исчерпывается все многообразие случаев практического использования ВВ. Способы и область применения ВВ постоянно совершенствуются одновременно с разработкой новых ВВ, обладающих более эффективными взрывчатыми свойст-вами.

2 ОСНОВНЫЕ ПОЛОЖЕНИЯ ТЕОРИИ ВЗРЫВЧАТЫХ
ВЕЩЕСТВ

2.1 Основные типы взрывчатых веществ и их классификация

Необходимым условием получения ВВ из горючего и окислителя является их тщательное перемешивание. Однако как бы тщательно не были перемешаны составные части смеси, невозможно добиться такой равномерности состава, при которой с каждой молекулой горючего соседствовала бы молекула окислителя. Поэтому в механических смесях скорость химической реакции при взрывном превращении никогда не достигает максимального значения. Такого недостатка не имеют взрывчатые химические соединения, в молекулу которых входят атомы горючего (углерода, водорода) и атомы окислителя (кислорода).

К взрывчатым химическим соединениям, молекулы которых содержат атомы горючих элементов и кислорода, относятся сложные азотнокислые эфиры многоатомных спиртов, так называемые нитроэфиры, и нитросоединения ароматических углеводородов.

Способность ИВВ детонировать от простого импульса требует чрезвычайно осторожного обращения с ними и, что особенно важно, при работе с ними не пользоваться большими количествами единовременно.

Пороха, благодаря особенностям своей структуры, а именно
однородности и монолитности пороховых элементов, обеспечивают устойчивое и равномерное горение. Даже при давлениях от 4000 до 5000 атмосфер пороха устойчиво горят не детонируя. Однако при достаточном начальном импульсе можно вызвать также и детонацию порохов. Таким образом, хотя три группы ВВ и выполняют различные функции, однако органического различия между ними нет.

Ниже приведены общие характеристики некоторых представителей ИВВ, БВВ и порохов, наиболее широко используемых в военных и промышленных целях.

Инициирующие взрывчатые вещества

Гремучая ртуть достаточно чувствительна к лучу огня. Применяется для снаряжения капсулей-детонаторов и в ударных составах для снаряжения капсулей-воспламенителей.

Азид свинца под влиянием внешнего воздействия детонирует без предварительного горения. Благодаря этой особенности азид свинца в отличие от гремучей ртути не перепрессовывается и при увлажнении практически не теряет чувствительности к внешним воздействиям. Взаимодействует с металлической медью, образуя особо чувствительный к механическим воздействиям азид меди. Процесс образования азида меди ускоряется в присутствии влаги и углекислоты воздуха.
С металлическим алюминием азид свинца не реагирует.

Азид свинца применяется для снаряжения капсулей-детонаторов, однако вследствие относительно малой чувствительности азида свинца к лучу огня при снаряжении капсулей-детонаторов поверх слоя азида свинца всегда присутствует небольшой слой более чувствительного к лучу огня тринитрорезорцината свинца (тенереса).

ТНРС весьма чувствителен к лучу огня и поэтому применяется в капсулях‑детонаторах, снаряженных азидом свинца, чтобы облегчить воспламенение последнего. Применяется в ударных составах для снаряжения капсулей-воспламенителей.

Бризантные взрывчатые вещества

Тротил представляет собой пластичное вещество, легко поддающееся прессованию (в заводских условиях получают заряды плотностью 1,60 г/см 3 ). Тротил малочувствителен к механическим воздействиям. Заряды тротила в литом виде не детонируют от капсуля‑детонатора №8. Промышленностью выпускается как кристаллический, так и чешуированный тротил.

Тротил является одним из основных бризантных ВВ и применяется для снаряжения различных боеприпасов как в чистом виде (прессованием, заливкой, шнекованием), так и в смесях с аммиачной селитрой и другими веществами.

ТЭН (пентаэритриттетранитрат) C(CH2 ONO2 )4 – белое кристаллическое вещество с плотностью 1,77 г/см 3 и температурой плавления 141 о С. Прессуется ТЭН трудно (расслаивается при высоких давлениях прессования). Относится, как и гексоген, к мощным бризантным ВВ. ТЭН более чувствителен, чем гексоген, к внешним воздействиям.
В герметичной оболочке горение ТЭН сравнительно легко переходит в детонацию. Применяется для изготовления детонирующих шнуров и снаряжения капсулей-детонаторов в качестве вторичного заряда, в флегматизированном виде – для снаряжения мелкокалиберных зарядов.

Метательные взрывчатые вещества (пороха)

Характерное отличие порохов от ВВ заключается в том, что горение не переходит в процесс детонации даже при больших плотностях заряжания. Однородная структура и высокая плотность пороховых зерен обеспечивают их устойчивое и равномерное горение.

Бездымный порох (коллоидный) представляет собой сложную смесь, основными компонентами которой являются пироксилин (коллоксилин) и нитроглицерин.

Существует много различных рецептур бездымных порохов, которые влияют как на внешний вид пороха, так и на его баллистические качества (скорость горения и её зависимость от давления, мощность, температура и т.д.). Например, пироксилиновые пороха имеют в своем составе до 98 % пироксилина, а баллиститные (нитроглицериновые) наряду с пироксилином содержат также в виде нелетучего растворителя нитроглицерин в количестве от 25 до 45 %.

Все бездымные пороха относятся к категории ВВ, стойкость которых обязательно проверяется в течение хранения их на складах. Это определяется тем, что в состав порохов входят пироксилин и нитроглицерин, т.е. вещества, имеющие в составе молекул эфирную группу.

2.2 Средства воспламенения и инициирования

При производстве различных испытаний ВВ в качестве средств воспламенения и инициирования применяется огнепроводный (бикфордов) шнур, детонирующий шнур, капсуль‑детонатор и электродетонатор.

Детонирующий шнур в отличие от огнепроводного шнура, имеет сердцевину из взрывчатого вещества, способного детонировать при малых диаметрах. Для изготовления детонирующего шнура применяются смеси горючей ртути с тетрилом (гремучертутнотетриловый шнур) или чистые ВВ, например ТЭН (тэновый шнур). Детонирующий шнур предназначен для передачи детонации от одного заряда к другому и для одновременного возбуждения детонации ряда зарядов.

Внешний вид детонирующего шнура отличается от внешнего вида огнепроводного цветом наружной оплетки (оплетка детонирующего шнура красная или оранжевая). Скорость детонации шнура от 7000 до 7700 м/с.

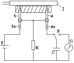
Капсуль-детонатор №8 представляет собой металлическую гильзу диаметром 7 мм и длиной 47±1 мм, снаряженную инициирующим или инициирующим и бризантным веществом (комбинированный капсуль‑детонатор). Основное назначение капсулей-детонаторов – возбуждение детонации различных зарядов бризантных ВВ. На рисун-
ке 2.1 приведен схематический разрез капсуля‑детонатора №8.

Как видно на фигуре, поверх инициирующего ВВ запрессовывается чашечка с отверстием, назначение которой – обеспечить стойкость заряда при механических воздействиях.

Электродетонатор мгновенного действия состоит из капсуля‑детонатора, в гильзу которого вмонтирован электровоспламенитель (рисунок 2.2). В практике наиболее распространенным является твердокапельный электрозапал, состоящий из двух проводников, к концам которых припаян константановый мостик. Концы проводов и мостик путем обмакивания в воспламенительный состав покрываются каплей этой массы. При пропускании тока через электрозапал мостик накаливается и воспламеняет воспламенительный состав капли, в результате чего возникает мощный луч огня. Комбинацию электрозапала и капсуля‑детонатора называют электродетонатором мгновенного действия.

Что такое химическая технология энергонасыщенных материалов и изделий. 8899216. Что такое химическая технология энергонасыщенных материалов и изделий фото. Что такое химическая технология энергонасыщенных материалов и изделий-8899216. картинка Что такое химическая технология энергонасыщенных материалов и изделий. картинка 8899216. Кафедра «Технология твердых химических веществ».

Что такое химическая технология энергонасыщенных материалов и изделий. 8899217. Что такое химическая технология энергонасыщенных материалов и изделий фото. Что такое химическая технология энергонасыщенных материалов и изделий-8899217. картинка Что такое химическая технология энергонасыщенных материалов и изделий. картинка 8899217. Кафедра «Технология твердых химических веществ».

2.3 Смесевые взрывчатые вещества

Смеси на основе жидких нитропарафинов и солей гидразина (астралиты)

Жидкие ВВ давно привлекали внимание исследователей в связи с повышенной плотностью, малым критическим диаметром, способностью целиком заполнять зарядный объём и тем самым обеспечивать высокую концентрацию энергии и эффективность взрывания. Жидкие ВВ не растворяются в воде, не смешиваются с ней и являются водоустойчивыми. Обладают хорошей текучестью даже при минусовых температурах, что облегчает механизацию зарядных работ. Наибольший интерес представляют жидкие нитропарафины и ВВ на их основе. Особое внимание в этом классе соединений уделяется нитрометану, который имеет явно выраженные взрывчатые свойства. Нитрометан предназначен для взрывных работ в нефтедобывающей и горной промышленности для внутрипластового взрывания.

В таблице 2.1 приведены свойства эвтектических бинарных смесей нитропарафинов с аммиачной селитрой [7]. Видно, что по энергетическим характеристикам смесь, содержащая нитрометан, превосходит аналогичную смесь, содержащую тротил.

Таблица 2.1 – Свойства смесей нитропарафинов с аммиачной селитрой

Содержа­ние аммиач­ной селитры в сте­хио­мет­ри­­чес­кой смеси, %

Объём газов взрыва, л/кг

Относительная эффективность к тротилу, %

Так как нитрометан тяжелее воды и не смешивается с ней, им можно заряжать обводненные скважины через столб воды, которая в данном случае будет выполнять роль забойки. Недостатком нитрометана является его высокая летучесть.

Взрывчатые свойства нитрометана следующие: бризантность
15 мм при инициировании от шашки тетрила массой 5 г и 22 мм от шашки 10 г; работоспособность по баллистической мортире 134 % по отношению к тротилу; скорость детонации в металлической трубе 6…6,5 км/с.

При введении в нитрометан алюминия массовая энергия взрыва повышается в 1,4-1,5 раза, а объёмная в 1,6-2,0 раза. По приближенным оценкам в благоприятных условиях взрывания во взрывчатом превращении может участвовать до 25 % алюминия. Объёмная энергия таких бинарных систем от 8400 до 9660 кДж/л, что превосходит объёмную энергию алюмотола, граммонала и акватола на 28…45 %.

На основе загущенного нитрометана и измельченной селитры готовятся пластичные высокоплотные и высоководоустойчивые ВВ, не уступающие по мощности динамитам и в то же время отличающиеся от них малой токсичностью, высокой морозостойкостью, низкими чувствительностью к механическим воздействиям и стоимостью. Взрывчатые свойства пластичных нитрометановых ВВ следующие: теплота взрыва от 6300 до 7560 кДж/л, бризантность от 14 до 19 мм, работоспособность от 380 до 490 мл, скорость детонации от 4,7 до 5,8 км/с.

Смеси на основе гидрата гидразина (NH2 NH2 H2 O), за рубежом называемые астралитами, характеризуются высокими расчетными энергетическими показателями. Кроме простейшей смеси гидразина с аммиачной селитрой, запатентованы многокомпонентные жидкие составы. Взрывчатой основой в таких системах служат нитрат и перхлорат гидразина. К достоинствам жидких гидразинсодержащих ВВ можно отнести широкий температурный диапазон эксплуатации (от минус 30 до плюс 45 о С), высокие плотность (1,3…1,4 г/см 3 ) и скорость детонации (7,5…8 км/с), безопасность в обращении. Благодаря высокой плотности объёмная энергия заряда в скважине может достигать
5650 кДж/л. Объём продуктов взрыва достигает 1000 л/кг. Недостатком астралитов является их низкая физическая стойкость из-за испарения гидразина. Астралиты можно готовить на месте применения смешиванием нитратов и перхлоратов гидразина с жидким аммиаком или растворами аммиачной селитры.

Смесевые эмульсионные ВВ

Несмотря на достигнутый в настоящее время уровень использования в промышленности широкого класса разработанных ВВ, работы по поиску повышения эффективности взрыва путем применения новых составов ВВ и конструкций зарядов продолжаются.

Для повышения эффективности взрыва такой смеси и поднятия КПД взрыва её основной составляющей (гранулита) была предложена конструкция заряда коаксиальной формы: по оси заряда гранулита размещается линейный инициатор из сенсибилизированной эмульсии, скорость детонации которой существенно превышает стационарную скорость детонации гранулита. В роли линейного инициатора по детонационным параметрам использованы эмульсионные ВВ сибирит-1000 или сибирит-1200, которые характеризуются высокой скоростью детонации [8].

Оценка относительной работоспособности зарядов различной формы (рисунок 2.3) проводилась по методу воронки выброса.

Что такое химическая технология энергонасыщенных материалов и изделий. 8899218. Что такое химическая технология энергонасыщенных материалов и изделий фото. Что такое химическая технология энергонасыщенных материалов и изделий-8899218. картинка Что такое химическая технология энергонасыщенных материалов и изделий. картинка 8899218. Кафедра «Технология твердых химических веществ».

Что такое химическая технология энергонасыщенных материалов и изделий. 8899219. Что такое химическая технология энергонасыщенных материалов и изделий фото. Что такое химическая технология энергонасыщенных материалов и изделий-8899219. картинка Что такое химическая технология энергонасыщенных материалов и изделий. картинка 8899219. Кафедра «Технология твердых химических веществ».

Критерий относительной работоспособности f – отношение масс зарядов из эталонного (m Э ) и испытываемого (m ВВ ) взрывчатых веществ, образующих при взрыве воронки одинакового объёма:

Что такое химическая технология энергонасыщенных материалов и изделий. 8899220. Что такое химическая технология энергонасыщенных материалов и изделий фото. Что такое химическая технология энергонасыщенных материалов и изделий-8899220. картинка Что такое химическая технология энергонасыщенных материалов и изделий. картинка 8899220. Кафедра «Технология твердых химических веществ».. (2.1)

При проведении эксперимента в качестве эталонного ВВ использовалась смесь гранулированного и чешуйчатого ТНТ в соотношении 50/50 по массе.

Что такое химическая технология энергонасыщенных материалов и изделий. 8899221. Что такое химическая технология энергонасыщенных материалов и изделий фото. Что такое химическая технология энергонасыщенных материалов и изделий-8899221. картинка Что такое химическая технология энергонасыщенных материалов и изделий. картинка 8899221. Кафедра «Технология твердых химических веществ»., (2.2)

где Что такое химическая технология энергонасыщенных материалов и изделий. 8899222. Что такое химическая технология энергонасыщенных материалов и изделий фото. Что такое химическая технология энергонасыщенных материалов и изделий-8899222. картинка Что такое химическая технология энергонасыщенных материалов и изделий. картинка 8899222. Кафедра «Технология твердых химических веществ».— плотность ВВ, кг/м 3 ;

D – скорость детонации, км/с.

Для оценки относительной эффективности взрыва комбинированного заряда коаксиального типа, сформированного из эмульсионного ВВ сибирита-1200 и гранулита НП (рисунок 2.3 б), по сравнению с обычным зарядом гранулита НП вышеприведенная формула (2.2) примет вид:

Что такое химическая технология энергонасыщенных материалов и изделий. 8899223. Что такое химическая технология энергонасыщенных материалов и изделий фото. Что такое химическая технология энергонасыщенных материалов и изделий-8899223. картинка Что такое химическая технология энергонасыщенных материалов и изделий. картинка 8899223. Кафедра «Технология твердых химических веществ»., (2.3)

где Что такое химическая технология энергонасыщенных материалов и изделий. 8899224. Что такое химическая технология энергонасыщенных материалов и изделий фото. Что такое химическая технология энергонасыщенных материалов и изделий-8899224. картинка Что такое химическая технология энергонасыщенных материалов и изделий. картинка 8899224. Кафедра «Технология твердых химических веществ».— доля соответственно сибирита-1200 и гранулита НП в единице объёма комбинированного заряда;

Аналогичным образом оценивается относительное удешевление комбинированного заряда коаксиального типа в сравнении с обычным зарядом гранулита НП:

Что такое химическая технология энергонасыщенных материалов и изделий. 8899227. Что такое химическая технология энергонасыщенных материалов и изделий фото. Что такое химическая технология энергонасыщенных материалов и изделий-8899227. картинка Что такое химическая технология энергонасыщенных материалов и изделий. картинка 8899227. Кафедра «Технология твердых химических веществ»., (2.4)

Результаты экспериментальных испытаний (таблица 2.2) смесевых эмульсионных ВВ показали, что применение комбинированных зарядов коаксиальной формы с осевым зарядом из эмульсионного ВВ приводит к более полному выделению энергии при взрыве гранулита НП, изготовленного с использованием плотной гранулированной аммиачной селитры.

Таблица 2.2 – Результаты экспериментальных испытаний ВВ

ТНТ (гранулы / чешуйки 50/50)

Гранулит НП (пористая АС)

Сибирит 2500 РЗ (пористая АС)

Разработанное смесевое эмульсионное ВВ сибирит 2500 Р3 допущено Госгортехнадзором России к постоянному применению, изготовляется в процессе механизированного заряжания скважин и применяется на ряде разрезов Кузбасса.

Предложенный способ формирования комбинированного заряда коаксиальной формы из эмульсионного ВВ и ВВ типа АСД позволяет повысить эффективность использования простейших ВВ, изготовленных на основе гранулированной аммиачной селитры, использовать промышленные смесительно-зарядные машины типа МС-38.

Взрывы за счет химической энергии присущи особой группе веществ – взрывчатым веществам.

Взрывчатые вещества обладают относительной термодинамической неустойчивостью. Именно благодаря этому они способны под влиянием внешних воздействий к чрезвычайно быстрым химическим превращениям, которые сопровождаются выделением тепла и образованием газообразных продуктов. Большая скорость, с которой ВВ превращаются в газообразные продукты, является необходимым условием взрыва. Скорость взрывных превращений достигает от 9 до 10 км/с. При совершении механической работы по перемещению или разрушению требуется затратить эквивалентное количество тепловой энергии, выделяющейся при химическом превращении ВВ. Выделение тепла при химической реакции является вторым необходимым условием взрыва. Для современных ВВ теплота взрывного превращения составляет от 400 до 3000 ккал/кг. Для преобразования теплоты химической реакции в механическую работу необходимо рабочее тело. Таким рабочим телом являются газообразные продукты, количество которых при взрыве 1 кг ВВ достигает от 500 до1000 л.

Механизм возбуждения и распространения взрыва

Основные положения теории, объясняющей механизм возбуждения и распространения взрыва, разработаны в конце XIX века профессором Московской сельскохозяйственной академии В.А. Михельсоном. В трудах ученых Л.Д. Ландау, Я.Б. Зельдовича, К.П. Станюковича и других теория взрыва нашла свое дальнейшее развитие.

Сущность механизма возникновения местных разогревов состоит в следующем:

1) очаги возбуждения реакции («горячие точки») при ударе или другом механическом воздействии возникают в результате адиабатического сжатия газовых пузырьков, находящихся во взрывчатом веществе;

2) в результате воздействия происходит неравномерное течение ВВ, при котором возникают силы трения между отдельными слоями ВВ, между ВВ и соударяющимися поверхностями, между частицами ВВ и находящимися в нем твердыми инородными частицами. Это трение и является причиной появления местных разогревов;

3) очаги возбуждения возникают также за счет вязкостного разогрева ВВ в результате быстрого выдавливания его из зазора соударяющимися поверхностями.

Ударная волна распространяется по всей массе ВВ со скоростью, равной нескольким километрам в секунду. Ударная волна имеет впереди резко очерченный фронт, на котором происходит сильное повышение давления и температуры. Непосредственно за фронтом волны происходит превращение ВВ в газообразные продукты и выделение энергии. Продукты взрыва не удаляются из зоны реакции, а движутся в направлении распространения процесса вслед за ударной волной.

Благодаря выделению энергии в процессе химической реакции и постоянному ее восполнению скорость распространения ударной волны во взрывчатом веществе может остаться постоянной. Такое распространение взрыва является детонацией ВВ. Скорость детонации определяется как скорость распространения ударной волны по заряду ВВ, т.е. детонация представляет собой наиболее совершенную форму взрыва, когда процесс протекает с постоянной и максимально возможной для данного ВВ скоростью.

Скорость детонации является одной из наиболее важных характеристик ВВ, которая определяется экспериментально разными методами (оптическим, осциллографическим, хронографическим). Наиболее простым методом определения скорости детонации является метод Дитриша, основанный на сравнении известной скорости детонации детонирующего шнура со скоростью детонации используемого заряда [5]. В таблице 2.3 приведены скорости детонации некоторых ВВ.

Скорость детонации, м/с

С увеличением плотности заряда скорость детонации бризантных ВВ возрастает, достигая максимума при предельной для данного ВВ плотности. Зависимости скорости детонации от плотности заряда представлены в таблице 2.4.

Таблица 2.4 – Скорость детонации ВВ от плотности заряда

Скорости детонации, м/с

Взрывчатые вещества различны по своей способности детонировать. Для каждого из них имеется некоторое наименьшее количество ВВ, необходимое для того, чтобы произошла детонация. Как было установлено академиком Ю.Б. Харитоном, мерой способности ВВ к взрыву может служить критический диаметр заряда, т.е. такой предельный диаметр, при котором детонация может распространиться по заряду. Чем меньше критический диаметр, тем больше способность ВВ к детонации. Величина критического диаметра зависит от физического состояния взрывчатого вещества. Так, критический диаметр прессованного тротила около 10 мм, а литого – 32 мм. Поэтому в заряде из прессованного тротила возбудить детонацию легче, чем в заряде из литого тротила.

2.5 Горение взрывчатых веществ

Взрыв представляет собой одну из форм химического превращения взрывчатых веществ. Другой его формой является горение. Для горения также характерны большое количество выделяемого тепла, газообразных продуктов и большая скорость процесса. И тем не менее горение принципиально отлично от взрыва. Это отличие заключается в первую очередь в механизме распространения процесса.

Как было показано выше, распространение взрыва обусловлено прохождением по заряду ВВ ударной волны, возбуждающей в каждом последующем слое интенсивную химическую реакцию, сопровождающуюся выделением тепла. Распространение же процесса горения по взрывчатому веществу обусловлено передачей тепла от одного слоя к другому за счет теплопроводности, диффузии и излучения газообразных продуктов горения.

Процесс горения ВВ довольно сложен и изучен еще далеко не полностью. Большой вклад в изучение процесса горения внесли: академик Н.Н. Семенов, профессора К.К. Андреев, А.Ф. Беляев, Я.Б. Зельдович и другие [3]. Сущность процесса горения представляется следующим образом.

Если же при повышении давления скорость горения растет медленнее скорости газооттока, то образующиеся газы успевают расшириться и горение будет носить устойчивый характер. Именно этим объясняется устойчивое горение тротила и других бризантных ВВ, у которых скорость горения мала и в малой степени зависит от давления.

Пироксилин, имеющий пористую структуру, не представлялось возможным использовать для метательных целей до тех пор, пока не нашли способ устранить его пористость. Получение пироксилиновых порохов в принципе и заключается в придании пироксилину плотной структуры.

Благодаря плотной структуре пороха горят устойчиво. Горение является наиболее характерным видом их взрывного превращения.

2.6 Возбуждение взрывных превращений и начальный
импульс

Вид начального импульса влияет на характер взрывного превращения, что учитывается для тех или иных условий применения ВВ.

В настоящее время достигнут определенный уровень исследований проблемы ударно-волнового инициирования ВВ. В работе [6] показаны механизм возникновения источников локальной генерации тепла при инициировании ВВ и сравнение эффективности элементарных процессов в веществе.

При инициировании жидких и твердых (литых, прессованных) ВВ существуют принципиальные отличия, которые являются следствием того, что жидкие ВВ гомогенны, а твердые, изготовленные каким-либо из известных технологических способов, гетерогенны. Поэтому критические параметры ударно-волнового инициирования для однородных бездефектных систем существенно выше, чем для структурно-неоднородных с пористостью от 1 до 3 %. Это связано с тем, что для гомогенных ВВ необходимо в течение определенного времени прогреть объём за фронтом инициирующей ударной волны.

Модель формирования детонационных волн в гомогенных ВВ (например, нитрометан и его смеси) была предложена Чепменом и уточнена А.Н. Дреминым и сотрудниками [3]. Определение критических условий инициирования детонации для гомогенных ВВ сводится к задаче адиабатического теплового взрыва в условиях изменяющейся во времени температуры с заданным начальным давлением инициирующей ударной волны (УВ).

Гетерогенные же ВВ являются химически однородными, но структурно они неоднородны. Для данной группы ВВ существенны процессы, протекающие на неоднородностях структуры непосредственно за фронтом УВ. При этом для гетерогенных ВВ влияние температурного фона из-за объёмного разогрева значительно, особенно на стадии резкого ускорения инициирующей УВ и установления стационарной детонации. Критические параметры инициирования и пространственно-временная картина течения за фронтом инициирующей УВ для данной группы зависят от баланса между энергией, вводимой в ВВ ударной волной, и энерговыделением от разложения. При этом к локализации выделения энергии приводят следующие структурные дефекты в материале заряда:

· макроуровневые срезы и разрушения на неоднородностях структуры заряда;

· разрыв сплошности течения вблизи пустот, на границах кристаллов и включений;

· дробление и впрыск вещества в полости материала;

· макрокумулятивные эффекты в порах;

Совокупность структурных неоднородностей в веществе – источников локальной генерации тепла – представлена схемой на рисун-
ке 2.4.

Что такое химическая технология энергонасыщенных материалов и изделий. 8899228. Что такое химическая технология энергонасыщенных материалов и изделий фото. Что такое химическая технология энергонасыщенных материалов и изделий-8899228. картинка Что такое химическая технология энергонасыщенных материалов и изделий. картинка 8899228. Кафедра «Технология твердых химических веществ».

Что такое химическая технология энергонасыщенных материалов и изделий. 8899229. Что такое химическая технология энергонасыщенных материалов и изделий фото. Что такое химическая технология энергонасыщенных материалов и изделий-8899229. картинка Что такое химическая технология энергонасыщенных материалов и изделий. картинка 8899229. Кафедра «Технология твердых химических веществ».

Что такое химическая технология энергонасыщенных материалов и изделий. 8899230. Что такое химическая технология энергонасыщенных материалов и изделий фото. Что такое химическая технология энергонасыщенных материалов и изделий-8899230. картинка Что такое химическая технология энергонасыщенных материалов и изделий. картинка 8899230. Кафедра «Технология твердых химических веществ».

Что такое химическая технология энергонасыщенных материалов и изделий. 8899231. Что такое химическая технология энергонасыщенных материалов и изделий фото. Что такое химическая технология энергонасыщенных материалов и изделий-8899231. картинка Что такое химическая технология энергонасыщенных материалов и изделий. картинка 8899231. Кафедра «Технология твердых химических веществ».

Что такое химическая технология энергонасыщенных материалов и изделий. 8899232. Что такое химическая технология энергонасыщенных материалов и изделий фото. Что такое химическая технология энергонасыщенных материалов и изделий-8899232. картинка Что такое химическая технология энергонасыщенных материалов и изделий. картинка 8899232. Кафедра «Технология твердых химических веществ».

Что такое химическая технология энергонасыщенных материалов и изделий. 8899233. Что такое химическая технология энергонасыщенных материалов и изделий фото. Что такое химическая технология энергонасыщенных материалов и изделий-8899233. картинка Что такое химическая технология энергонасыщенных материалов и изделий. картинка 8899233. Кафедра «Технология твердых химических веществ».

Что такое химическая технология энергонасыщенных материалов и изделий. 8899234. Что такое химическая технология энергонасыщенных материалов и изделий фото. Что такое химическая технология энергонасыщенных материалов и изделий-8899234. картинка Что такое химическая технология энергонасыщенных материалов и изделий. картинка 8899234. Кафедра «Технология твердых химических веществ».

Что такое химическая технология энергонасыщенных материалов и изделий. 8899235. Что такое химическая технология энергонасыщенных материалов и изделий фото. Что такое химическая технология энергонасыщенных материалов и изделий-8899235. картинка Что такое химическая технология энергонасыщенных материалов и изделий. картинка 8899235. Кафедра «Технология твердых химических веществ».

Что такое химическая технология энергонасыщенных материалов и изделий. 8899236. Что такое химическая технология энергонасыщенных материалов и изделий фото. Что такое химическая технология энергонасыщенных материалов и изделий-8899236. картинка Что такое химическая технология энергонасыщенных материалов и изделий. картинка 8899236. Кафедра «Технология твердых химических веществ».Что такое химическая технология энергонасыщенных материалов и изделий. 8899237. Что такое химическая технология энергонасыщенных материалов и изделий фото. Что такое химическая технология энергонасыщенных материалов и изделий-8899237. картинка Что такое химическая технология энергонасыщенных материалов и изделий. картинка 8899237. Кафедра «Технология твердых химических веществ».

Что такое химическая технология энергонасыщенных материалов и изделий. 8899238. Что такое химическая технология энергонасыщенных материалов и изделий фото. Что такое химическая технология энергонасыщенных материалов и изделий-8899238. картинка Что такое химическая технология энергонасыщенных материалов и изделий. картинка 8899238. Кафедра «Технология твердых химических веществ».

Что такое химическая технология энергонасыщенных материалов и изделий. 8899239. Что такое химическая технология энергонасыщенных материалов и изделий фото. Что такое химическая технология энергонасыщенных материалов и изделий-8899239. картинка Что такое химическая технология энергонасыщенных материалов и изделий. картинка 8899239. Кафедра «Технология твердых химических веществ».

Превалирующая роль того или иного механизма локальной генерации тепла до настоящего времени не выяснена. Условия начала разложения в очаге могут быть достигнуты при любом механизме генерации тепла в зависимости от физико-механической структуры и свойств ВВ, его пористости, совокупности термокинетических характеристик и характера действующей нагрузки. Однако эффективность этих механизмов не равнозначна и по проведенным оценкам может быть в порядке возрастания представлена следующим образом (рисунок 2.5): деформационный разогрев – ударно-волновой разогрев – фрикционное тепловыделение – вязкопластический локальный разогрев.

Что такое химическая технология энергонасыщенных материалов и изделий. 8899240. Что такое химическая технология энергонасыщенных материалов и изделий фото. Что такое химическая технология энергонасыщенных материалов и изделий-8899240. картинка Что такое химическая технология энергонасыщенных материалов и изделий. картинка 8899240. Кафедра «Технология твердых химических веществ».

Необходимо отметить, что достаточный для начала химической реакции разогрев в очаге еще не гарантирует распространения процесса в объёме и, следовательно, создания предпосылок формирования самоподдерживающейся инициирующей ударной волны и ее перехода в детонационную. Последнее возможно только в тех случаях, когда создаются необходимые условия для суммирования энергии элементарных процессов, когда развитие процесса в очагах приобретает коллективный характер и роль газодинамики становится преобладающей. В результате возрастает влияние фронтальных процессов и формируется локальная зона максимума давления и массовой скорости, а именно ударно-волновой комплекс с энерговыделением в непосредственной близости от фронта, способный при определенных условиях перестроиться в стационарный, детонационный.

3 Физические основы термодинамики взрывчатых веществ

3.1 Энергетические характеристики

Критериями действия взрыва являются количество тепла, выделяемое при взрыве, объём образующихся газообразных продуктов и температура взрыва.

Для взрывчатых веществ количество тепла, выделяющееся при взрыве, является очень важной характеристикой, определяющей возможность использования того или иного ВВ в соответствующих условиях. Чем больше выделилось тепла, тем выше температура продуктов взрыва, выше давление, а следовательно, и существеннее воздействие продуктов взрыва на окружающую среду. В реальных условиях применения ВВ не вся теплота, выделяющаяся при взрыве, переходит в механическую работу. Часть ее расходуется на нагревание оболочки, в которую заключено ВВ, и окружающей среды.

Количество тепла, выделяющееся при взрыве 1 кг ВВ, называется теплотой взрыва. Теплота взрыва является важной энергетической характеристикой, определяющей работоспособность ВВ. Количество тепла, выделяемое в результате процесса, протекающего с участием газов, зависит от того, происходит процесс в постоянном или переменном объёме. Полагают, что при детонации ВВ химическая реакция успевает закончиться раньше, чем начнется расширение газообразных продуктов взрыва, и выделение тепла происходит при постоянном
объёме.

Таблица 3.1 – Теплота взрыва некоторых ВВ

Теплота взрыва определяется экспери­ментально или расчетным путем. Экспериментальное определение теплоты взрыва производится в калориметрической установке по количеству тепла, поглощенного массой установки при взрыве внутри нее определенного количества ВВ [5].

В основе вычисления теплоты взрыва лежит открытый в 1840 году русским химиком Г.И. Гессом основной закон термохимии, который представляет собой частный случай закона сохранения энергии. В соответствии с этим законом тепловой эффект химической реакции не зависит от того, какие были промежуточные вещества при протекании реакции, а зависит только от состава исходных веществ и конечных продуктов реакции.

Согласно закону Гесса теплота взрыва QV равна алгебраической разности между теплотой образования продуктов взрыва и теплотой образования взрывчатого вещества:

Теплота образования различных веществ приведена в специальных таблицах [22]. Продукты взрывного превращения могут быть определены методом газового анализа или рассчитаны теоретически.

Точно определить состав продуктов взрыва методом газового анализа довольно трудно, так как газовому анализу подвергаются уже охлажденные продукты взрыва, а состав охлажденных продуктов в силу ряда обстоятельств может отличаться от первоначального состава, соответствующего максимальной температуре и давлению взрыва. Поэтому чаще всего состав продуктов взрыва определяют расчетным путем [9].

При этом исходят из следующих соображений. Подавляющее большинство ВВ представляет собой органические вещества, состоящие из атомов углерода, водорода, кислорода и азота. Состав продуктов взрыва определяется главным образом соотношением горючих составляющих (углерода, водорода) и кислорода.

Приведем некоторые особенности расчета теплоты взрыва. Все ВВ условно делят на 3 группы:

· к первой группе относят ВВ с количеством кислорода, достаточным для полного сгорания горючих элементов (например, нитроглицерин);

Руководствуясь общими закономерностями физической химии и термодинамики, можно достаточно точно подсчитать состав продуктов взрыва. Для этого необходимо составить уравнение реакции взрывного превращения. Приближенные реакции взрывного превращения для ВВ первой и второй групп могут быть составлены достаточно просто. Считают, что в результате взрыва ВВ, относящихся к первой группе, образуются лишь продукты полного сгорания CO2 и H2 O. С учётом этого реакцию взрывного превращения, например, нитроглицерина можно представить следующим образом:

Для взрывчатых веществ второй группы пользуются правилом, согласно которому кислород, входящий в молекулу взрывчатого вещества, сначала окисляет весь углерод до окиси углерода, а затем оставшаяся часть кислорода распределяется поровну между водородом и образовавшейся окисью углерода, в результате чего образуются вода и углекислый газ. Руководствуясь этим положением, можно написать уравнение взрывного превращения, например, гексогена:

Что такое химическая технология энергонасыщенных материалов и изделий. 8899241. Что такое химическая технология энергонасыщенных материалов и изделий фото. Что такое химическая технология энергонасыщенных материалов и изделий-8899241. картинка Что такое химическая технология энергонасыщенных материалов и изделий. картинка 8899241. Кафедра «Технология твердых химических веществ»., (3.3)

где 22,4 – объём 1 грамм-моля газа при нормальных условиях, л;

n – количество молей газообразных продуктов, образующихся при взрыве 1 моля ВВ;

М – молекулярная масса ВВ, г.

Зная теплоту взрыва и состав продуктов взрыва, легко вычислить температуру взрыва:

Что такое химическая технология энергонасыщенных материалов и изделий. 8899242. Что такое химическая технология энергонасыщенных материалов и изделий фото. Что такое химическая технология энергонасыщенных материалов и изделий-8899242. картинка Что такое химическая технология энергонасыщенных материалов и изделий. картинка 8899242. Кафедра «Технология твердых химических веществ».,

где CV – теплоёмкость продуктов взрыва в зависимости от изменения температуры.

3.2 Стойкость взрывчатых веществ

Немаловажным критерием безопасности ВВ при хранении является стойкость взрывчатых веществ. ВВ способны не только взрываться от действия начальных импульсов, но и самопроизвольно разлагаться и претерпевать различные физико-химические превращения в процессе длительного хранения. Поэтому при определении срока служебной пригодности ВВ обязательно нужно учитывать такое их свойство, как стойкость (стабильность). С учётом этого свойства определяются условия применения и безопасного обращения с ВВ после истечения определенных сроков хранения. Различают химическую и физическую стойкость ВВ.

Химической стойкостью называют способность ВВ сохранять в процессе длительного хранения неизменными химический состав и химические свойства. Она зависит от природы ВВ, наличия в них примесей других веществ, условий хранения. Применяемые в настоящее время для снаряжения ВВ разлагаются крайне медленно. Они обладают большой химической стойкостью. Это значит, что ВВ могут храниться десятилетиями, практически не изменяя своего химического состава и химических свойств.

Физическая стойкость характеризует склонность ВВ к физическим изменениям (физическое состояние, структура, механическая прочность, форма и размеры) самопроизвольно или под влиянием внешних причин.

Природа и механизм этих изменений для разных ВВ могут быть различными. Так, например, при длительном хранении в условиях жаркого климата (t > +40 о С) недостаточно очищенного тротила, получаемого по ускоренной технологии, из него выделяется оливково-желтоватая маслянистая жидкость, получившая название тротилового масла. Тротиловое масло представляет собой легкоплавкую эвтектическую смесь динитротолуолов и тротила. Выделение тротилового масла приводит к разрыхлению ВВ и потере зарядом монолитности, что влечет изменение его взрывчатых характеристик.

Ограниченной физической стойкостью обладают аммонийно-селитренные ВВ, отличающиеся высокой гигроскопичностью и сильной увлажняемостью. Склонность к увлажнению является крупным недостатком аммонийно-селитренных ВВ, ограничивающим их применение и затрудняющим изготовление и снаряжение изделий.

Изменение объёма, или так называемый «рост» ВВ, происходит у некоторых прессованных зарядов за счет остаточной деформации.
В результате такого «роста» невозможно без предварительной обработки ввернуть взрыватель в боеприпасы, что приводит к дополнительным мероприятиям по безопасности. Поэтому очень важно своевременно обнаружить «рост» ВВ.

Химическая стабильность (стойкость) ВВ характеризует скорость разложения ВВ при хранении и определяет способность его сохранять химический состав и связанные с ним физико-химические и взрывчатые свойства в течение гарантийного срока хранения. Она зависит от химической природы ВВ, наличия или отсутствия в нем нестойких примесей или компонентов, несовместимых друг с другом, а также от условий хранения. При низкой стойкости ВВ хранение больших количеств может привести к самоускоряющемуся разложению и взрыву.

Для отдельных ВВ в основе процесса медленного термического распада разложения лежит, как правило, реакция мономолекулярного распада, протекающая в соответствии с уравнением Аррениуса. Константа скорости реакции К находится в экспоненциальной зависимости от температуры Т :

Что такое химическая технология энергонасыщенных материалов и изделий. 8899243. Что такое химическая технология энергонасыщенных материалов и изделий фото. Что такое химическая технология энергонасыщенных материалов и изделий-8899243. картинка Что такое химическая технология энергонасыщенных материалов и изделий. картинка 8899243. Кафедра «Технология твердых химических веществ»., (3.4)

где В – предэкспонента (константа уравнения Аррениуса);

Е – энергия активации реакции распада;

R – универсальная газовая постоянная.

Особенностью распада взрывчатых веществ по сравнению с обычными химическими реакциями является необычайно высокое значение как предэкспоненты, так и энергии активации.

Период полураспада, лет

Катализировать процесс разложения могут не только продукты собственного распада, но и некоторые примеси. Такими свойствами, в частности, обладают примеси азотной кислоты. Вот почему в технологическом процессе получения нитроэфиров и других мощных ВВ предусмотрена их тщательная отмывка от примесей азотной кислоты и других нестойких продуктов.

В таблице 3.3 приведены энергии активации и кинетические коэффициенты медленного химического разложения ряда индивидуальных взрывчатых веществ [7].

Методы определения химической стойкости ВВ

Для оценки стойкости ВВ обычно определяют скорость их разложения при повышенных температурах, в пределе – при температуре вспышки. Для сокращения времени испытания ограничиваются определением скорости только начальной стадии разложения.

Стойкость нитроглицерина и нитроэфиросодержащих ВВ определяют йодокрахмальной пробой, по которой продукты разложения (окислы азота) улавливаются чувствительной йодокрахмальной бумажкой. Окислы азота, воздействуя на бесцветный ион йода в йодистом калии, переводят его в элементарный йод, который с крахмалом окрашивается в бурый цвет. Для более четкого обнаружения реакции йодокрахмальную бумажку перед испытанием смачивают до половины водным раствором глицерина. Тогда на границе раздела сухой и влажной бумажки видна ясно различимая цветная полоса. Нитроглицерин, предназначенный для приготовления нитроэфиросодержащих ВВ, не окрашивает бумажку в течение 30 минут, нитроэфиросодержащие ВВ – в течение 10 минут [5].

К реологическим свойствам относятся пластичность и текучесть ВВ.

Пластичность – способность ВВ легко деформироваться под воздействием небольших нагрузок и сохранять придаваемую им форму. Пластичные промышленные ВВ характеризуются высоковязкой структурой, обусловленной наличием в них пластификаторов и связующих, в динамитах в виде динамитного желатина (раствор нитроклетчатки в нитроглицерине или нитрогликоле), в водосодержащих ВВ – в виде водного геля. Пластичные свойства ВВ зависят от вязкости динамитного желатина и его содержания в ВВ.

К пластичным промышленным ВВ относятся динамиты, содержащие взрывчатую желатину, и высоковязкие водосодержащие ВВ (акваниты, акваналы, гелеобразные акватолы). При очень высокой вязкости желатина и значительном содержании его в составе ВВ приобретают резиноподобную структуру, деформация становится упругой, ВВ теряет свойство пластичности. К таким ВВ, в частности, относятся динамиты, содержащие более 60 % желатины.

Текучесть – способность ВВ вытекать из емкостей под действием силы тяжести. Этим свойством помимо собственно жидких ВВ обладают низковязкие суспензии – смеси жидкостей и порошкообразных наполнителей. Как и жидкости, такие системы могут перекачиваться по трубам и шлангам с помощью насосов различной конструкции.

Некоторые пластичные ВВ при хранении приобретают структуру твердого тела и вновь становятся пластичными при разминании. Такое явление называется тиксотропией. Для стабилизации пластичности в состав ВВ вводят добавки поверхностно-активных веществ, таких как алкиламины.

Исследования структурно-механических (реологических) свойств показали, что водосодержащие ВВ как с алюминием, так и сенсибилизированные тротилом, по характеру аномалии вязкости относятся к неньютоновским жидкостям с ярко выраженными вязкопластичными и тиксотропными свойствами. При снижении вязкости увеличивается текучесть водосодержащих ВВ, которая обратно пропорциональна вязкости. Вязкость и пластичность ВВ определяется с помощью консистометра Геплера, которым измеряют скорость проникновения иглы с шариком на конце в массу вещества или деформацию цилиндриков из ВВ при действии на них в течение определенного времени заданной нагрузки. В таблице 3.4 приведены данные об изменении пластичности динамита и водосодержащего ВВ, определенные на консистометре
Геплера.

Таблица 3.4 – Пластичность динамита и водосодержащего ВВ

Усадка (мм) столбиков диаметром 10 мм высотой
8,5 мм при постоянной нагрузке и различных Т, °С

Таблица 3.5 – Результаты определения пластичности пенетрометром

Содержание воды в ВВ, %

Время проникновения иглы до основания столбика из ВВ высотой 40 мм, с

В полевых условиях пластичность ВВ качественно можно оценить по способности изделий разминаться в руке и сплющиваться в шпуре или скважине при нажатии забойником.

3.3 Разрушающие факторы взрывчатых веществ

Первую математическую модель детонационной волны в газах, опирающуюся на теорию ударных волн, в виде гидродинамической теории детонации разработали в конце прошлого века одновременно несколько ученых – В.А. Михельсон в России, Д.Л. Чепмен в Англии, Е. Жуге во Франции. Эта модель не рассматривает кинетики (пространственно-временных характеристик) химической реакции в детонационной волне, а представляет ударный фронт в ней формально в виде поверхности разрыва, отделяющей исходное вещество от продуктов его химического превращения. В подвижной системе координат процесс представляется таким образом, что в ударный фронт втекает вещество в исходном состоянии и вытекает из него в виде продуктов своего химического превращения. В этом случае, как и в теории ударных волн, но с учётом энерговыделения при детонации, основные соотношения между начальными и конечными параметрами состояния вещества, а также кинематическими параметрами детонации – скоростью перемещения фронта (скоростью детонации) D и массовой скоростью движения продуктов превращения за фронтом U находят из законов сохранения массы, количества движения (импульса) и энергии в волне.

Что такое химическая технология энергонасыщенных материалов и изделий. 8899244. Что такое химическая технология энергонасыщенных материалов и изделий фото. Что такое химическая технология энергонасыщенных материалов и изделий-8899244. картинка Что такое химическая технология энергонасыщенных материалов и изделий. картинка 8899244. Кафедра «Технология твердых химических веществ».

Что такое химическая технология энергонасыщенных материалов и изделий. 8899245. Что такое химическая технология энергонасыщенных материалов и изделий фото. Что такое химическая технология энергонасыщенных материалов и изделий-8899245. картинка Что такое химическая технология энергонасыщенных материалов и изделий. картинка 8899245. Кафедра «Технология твердых химических веществ».

На рисунке 3.1 адиабатическому сжатию вещества отвечает прямая АВ с очень малым наклоном относительно оси абсцисс, что свидетельствует о крайне малом времени сжатия и малой толщине сжатого слоя. Зоне химического пика отвечает участок ВС на кривой спада давления, точка излома С отвечает точке Жуге, участок за этой точкой характеризует спад давления в расширяющихся продуктах детонации.

Исходя из гидродинамической модели, основными соотношениями для детонационной волны являются, согласно законам сохранения:

Что такое химическая технология энергонасыщенных материалов и изделий. 8899246. Что такое химическая технология энергонасыщенных материалов и изделий фото. Что такое химическая технология энергонасыщенных материалов и изделий-8899246. картинка Что такое химическая технология энергонасыщенных материалов и изделий. картинка 8899246. Кафедра «Технология твердых химических веществ».,

Что такое химическая технология энергонасыщенных материалов и изделий. 8899247. Что такое химическая технология энергонасыщенных материалов и изделий фото. Что такое химическая технология энергонасыщенных материалов и изделий-8899247. картинка Что такое химическая технология энергонасыщенных материалов и изделий. картинка 8899247. Кафедра «Технология твердых химических веществ».,

Что такое химическая технология энергонасыщенных материалов и изделий. 8899248. Что такое химическая технология энергонасыщенных материалов и изделий фото. Что такое химическая технология энергонасыщенных материалов и изделий-8899248. картинка Что такое химическая технология энергонасыщенных материалов и изделий. картинка 8899248. Кафедра «Технология твердых химических веществ».,

где U – массовая скорость движения продуктов взрыва за фронтом;

V 0 и P 0 – соответственно удельный объём и давление исходного вещества;

P и V – соответственно давление и удельный объём продуктов детонации.

Совместное решение уравнений (3.5) и (3.6) дает формулы для расчета кинетических параметров детонации:

Что такое химическая технология энергонасыщенных материалов и изделий. 8899249. Что такое химическая технология энергонасыщенных материалов и изделий фото. Что такое химическая технология энергонасыщенных материалов и изделий-8899249. картинка Что такое химическая технология энергонасыщенных материалов и изделий. картинка 8899249. Кафедра «Технология твердых химических веществ»., (3.8)

Что такое химическая технология энергонасыщенных материалов и изделий. 8899250. Что такое химическая технология энергонасыщенных материалов и изделий фото. Что такое химическая технология энергонасыщенных материалов и изделий-8899250. картинка Что такое химическая технология энергонасыщенных материалов и изделий. картинка 8899250. Кафедра «Технология твердых химических веществ».. (3.9)

Данные выражения являются одной из форм записи уравнения ударной адиабаты Гюгонио для продуктов детонации.

Большинство исследователей пришли к выводу, что при
r0 ³1 г/см 3 скорость детонации (D ) может быть описана линейной зависимостью вида

или, как это предложил М.А. Кук:

где D 2 и D 1 – скорость детонации при плотности ВВ соответственно r2 и r1 ;

М – размерный коэффициент.

Что такое химическая технология энергонасыщенных материалов и изделий. 8899251. Что такое химическая технология энергонасыщенных материалов и изделий фото. Что такое химическая технология энергонасыщенных материалов и изделий-8899251. картинка Что такое химическая технология энергонасыщенных материалов и изделий. картинка 8899251. Кафедра «Технология твердых химических веществ».,

Что такое химическая технология энергонасыщенных материалов и изделий. 8899252. Что такое химическая технология энергонасыщенных материалов и изделий фото. Что такое химическая технология энергонасыщенных материалов и изделий-8899252. картинка Что такое химическая технология энергонасыщенных материалов и изделий. картинка 8899252. Кафедра «Технология твердых химических веществ».,

Что такое химическая технология энергонасыщенных материалов и изделий. 8899253. Что такое химическая технология энергонасыщенных материалов и изделий фото. Что такое химическая технология энергонасыщенных материалов и изделий-8899253. картинка Что такое химическая технология энергонасыщенных материалов и изделий. картинка 8899253. Кафедра «Технология твердых химических веществ».,

d з – диметр заряда взрывчатого вещества;

U – массовая скорость.

Таблица 3.7 – Критические диаметры детонации некоторых ВВ
в стеклянных трубах при плотности 1,0 г/см 3 и размере частиц
от 0,05 до 0,20 мм

Для жидких и газообразных ВВ имеются другие объяснения критических условий распространения детонации. Они основываются на механизме срыва реакции на стенке. Соответственно значение dкр определяется не временем собственно реакции в детонационной волне, а временем индукции этой реакции, развивающейся по законам теплового взрыва. При диаметре меньше критического теплового взрыва не происходит. Такой механизм [11] позволяет объяснить очень малый диапазон между значениями dкр и dпр для жидких ВВ.

Определение скорости детонации

Что такое химическая технология энергонасыщенных материалов и изделий. 8899256. Что такое химическая технология энергонасыщенных материалов и изделий фото. Что такое химическая технология энергонасыщенных материалов и изделий-8899256. картинка Что такое химическая технология энергонасыщенных материалов и изделий. картинка 8899256. Кафедра «Технология твердых химических веществ».. (3.13)

Что такое химическая технология энергонасыщенных материалов и изделий. 8899257. Что такое химическая технология энергонасыщенных материалов и изделий фото. Что такое химическая технология энергонасыщенных материалов и изделий-8899257. картинка Что такое химическая технология энергонасыщенных материалов и изделий. картинка 8899257. Кафедра «Технология твердых химических веществ».

1 – гранулит АС-4; 2 – граммонит 79/21; 3 – аммонит 6ЖВ;
4 – граммонит 30/70; 5 – гранулотол; 6 – акватол

Что такое химическая технология энергонасыщенных материалов и изделий. 8899258. Что такое химическая технология энергонасыщенных материалов и изделий фото. Что такое химическая технология энергонасыщенных материалов и изделий-8899258. картинка Что такое химическая технология энергонасыщенных материалов и изделий. картинка 8899258. Кафедра «Технология твердых химических веществ».

Более простым и распространенным методом определения скорости детонации является метод Дотриша, заключающийся в сравнении определяемой скорости детонации с известной скоростью детонации детонирующего шнура [5].

Наиболее точным методом определения скорости детонации и параметров фронта детонации являются осциллографические и фоторегистрирующие методы, например, с помощью камер ждущей и скоростной фоторегистрации (ЖФР, СФР).

Формы работы взрыва

В общем случае коэффициент полезного действия взрыва зависит от многих факторов: характера работы взрыва, физико-механических свойств объектов разрушения, свойств ВВ и их взаимосвязи [12]. Схематически работу взрыва можно описать на примере типового случая дробления и выброса горной породы при взрыве углубленного заряда (рисунок 3.7).

Возникающая впереди фронта расширяющихся продуктов взрыва волна сжатия (ударная волна) сжимает массив горных пород и вызывает в нем тангенциальные напряжения, приводящие к образованию радиальных трещин. При отражении волны от свободной поверхности возникают растягивающие усилия, приводящие к образованию кольцевых трещин, вблизи от поверхности – откольные явления.

Что такое химическая технология энергонасыщенных материалов и изделий. 8899259. Что такое химическая технология энергонасыщенных материалов и изделий фото. Что такое химическая технология энергонасыщенных материалов и изделий-8899259. картинка Что такое химическая технология энергонасыщенных материалов и изделий. картинка 8899259. Кафедра «Технология твердых химических веществ».

Таким образом, в результате ударно-волновой составляющей действия взрыва в массиве, в дополнение к естественным трещинам, образуется объёмная сетка трещин, которая намечает контуры отдельностей, т.е. форму и размеры кусков породы. Работу разрушения завершают расширяющиеся продукты взрыва, которые сдвигают горную массу с частично нарушенными связями. При этом трещины расширяются и окончательно формируются куски раздробленной породы. При последующем выбросе горной массы куски дополнительно дробятся в результате соударения.

Описанная схематически картина дробления, сдвига и выброса горной массы указывает на две основные формы работы, совершаемой продуктами взрыва: работу дробления и работу перемещения горной массы. Первую называют бризантным или дробящим действием взрыва, вторую – фугасным или метательным действием.

Что такое химическая технология энергонасыщенных материалов и изделий. 8899260. Что такое химическая технология энергонасыщенных материалов и изделий фото. Что такое химическая технология энергонасыщенных материалов и изделий-8899260. картинка Что такое химическая технология энергонасыщенных материалов и изделий. картинка 8899260. Кафедра «Технология твердых химических веществ»., (3.14)

где p – давление продуктов взрыва, кг/см 2 ;

m – масса заряда, кг;

t к – время достижения ПД давления окружающей среды, с;

Qвзр – теплота взрыва, ккал/кг.

Таким образом, бризантное действие обусловлено динамическим ударом продуктов детонации, находящихся под очень высоким давлением (от 20000 до 500000 кгс/см 2 ), и наблюдается лишь в непосредственной близости от заряда ВВ. На бризантном действии основано применение ВВ в осколочных снарядах, бомбах, гранатах и других боеприпасах; в промышленности для разрушения горных выработок и бетонных конструкций.

В последние годы значительное внимание учеными уделяется изучению бризантного действия ВВ на иерархическую структуру геофизической среды, в том числе и при взрывном дроблении горных пород и бетонных блоков. Так, например, в работе [13] приведены результаты исследования по определению влияния массы m (г) заряда ВВ на величину кусков взорванного материала.

Опыты проводили с искусственными средами – бетонными блоками в форме куба, что позволило исключить из экспериментов влияние таких трудноконтролируемых параметров структурных сред, как трещиноватость и неоднородность. Опыты проводились с различными типами зарядов ВВ и различными величиной и прочностью бетонных блоков. Полученный в результате взрыва кусковой материал разделялся ситовым анализом по фракциям, для них определялся средний размер куска и массовая доля каждой фракции в общей массе раздробленного материала.

На рисунке 3.8 на основе экспериментальных данных представлены гистограммы в полулогарифмических координатах распределения кусков бетона при разрушении внутренним взрывом.

Данные зависимости удовлетворительно описываются выражениями:

Что такое химическая технология энергонасыщенных материалов и изделий. 8899264. Что такое химическая технология энергонасыщенных материалов и изделий фото. Что такое химическая технология энергонасыщенных материалов и изделий-8899264. картинка Что такое химическая технология энергонасыщенных материалов и изделий. картинка 8899264. Кафедра «Технология твердых химических веществ».

Масса заряда m, г: 1-22,5; 2-15,3; 3-10; 4-5,5; 5-2,45

Что такое химическая технология энергонасыщенных материалов и изделий. 8899265. Что такое химическая технология энергонасыщенных материалов и изделий фото. Что такое химическая технология энергонасыщенных материалов и изделий-8899265. картинка Что такое химическая технология энергонасыщенных материалов и изделий. картинка 8899265. Кафедра «Технология твердых химических веществ».

Аналогичные исследования выполнены при разрушении бетонных блоков накладными зарядами.

Таким образом, результаты разрушения бетонных блоков наружными и внутренними взрывами свидетельствуют о наличии характерных размеров кусков Что такое химическая технология энергонасыщенных материалов и изделий. 8899267. Что такое химическая технология энергонасыщенных материалов и изделий фото. Что такое химическая технология энергонасыщенных материалов и изделий-8899267. картинка Что такое химическая технология энергонасыщенных материалов и изделий. картинка 8899267. Кафедра «Технология твердых химических веществ».. Величина их монотонно снижается с увеличением массы зарядов ВВ и находится в корреляционной связи со средним размером кусков l раздробленного материала. Описанная работа [13] представляет научный интерес, так как результаты взрывного дробления бетонных блоков накладными и внутренними зарядами взрывчатого вещества (т.е. бризантное действие ВВ) рассмотрены с позиции иерархии размеров образовавшихся кусков и установлено, что характерный размер кусков нелинейно зависит от массы зарядов, причем существует связь между характерным Что такое химическая технология энергонасыщенных материалов и изделий. 8899267. Что такое химическая технология энергонасыщенных материалов и изделий фото. Что такое химическая технология энергонасыщенных материалов и изделий-8899267. картинка Что такое химическая технология энергонасыщенных материалов и изделий. картинка 8899267. Кафедра «Технология твердых химических веществ».и средним l размерами кусков раздробленного материала:

Что такое химическая технология энергонасыщенных материалов и изделий. 8899268. Что такое химическая технология энергонасыщенных материалов и изделий фото. Что такое химическая технология энергонасыщенных материалов и изделий-8899268. картинка Что такое химическая технология энергонасыщенных материалов и изделий. картинка 8899268. Кафедра «Технология твердых химических веществ». = 1,149 m 0,446 l .

Оценка бризантности взрывчатых веществ

Наиболее простым и распространенным методом испытания на бризантность является проба на обжатие свинцовых столбиков, проба Гесса (рисунок 3.10). Для испытаний применяется свинцовый столбик 2 диаметром 40 мм и высотой 60 мм, который устанавливается на массивной стальной плите 1 в вертикальном положении.

Что такое химическая технология энергонасыщенных материалов и изделий. 8899269. Что такое химическая технология энергонасыщенных материалов и изделий фото. Что такое химическая технология энергонасыщенных материалов и изделий-8899269. картинка Что такое химическая технология энергонасыщенных материалов и изделий. картинка 8899269. Кафедра «Технология твердых химических веществ».

На столбик 2 помещают стальную пластинку 3 толщиной 10 мм и диаметром 41 мм, на которой устанавливается заряд 4 испытываемого ВВ массой 50 г диаметром 40 мм в бумажной оболочке. При взрыве заряда ВВ свинцовый столбик деформируется. Мерой бризантности ВВ является величина обжатия, т.е. разность высот столбика до и после обжатия.

Более точно бризантность оценивают, как это показано в работах П.Ф. Похила и М.А. Садовского, величиной a:

h 0 – высота столбика до обжатия;

hk – высота столбика после обжатия.

Методы определения работоспособности ВВ

Газообразные продукты реакции, образующиеся при горении или детонации ВВ, имеющие высокую температуру и находящиеся в сильно сжатом состоянии, способны производить определенную механическую работу, которая проявляется в виде фугасного действия бризантных веществ.

Количество механической работы, совершенной продуктами взрывчатого вещества, зависит от целого ряда условий, причем главными из них являются скорость процесса, удельный объём газообразных продуктов и предельные значения давления и температуры газов, до которых они снижаются при производстве работы. Очевидно, что чем ниже будут конечные значения температуры и давления, тем меньше энергии останется неиспользованной в процессе расширения газов взрыва.

Работоспособность ВВ можно выразить величиной удельной энергии или удельной работоспособности

Что такое химическая технология энергонасыщенных материалов и изделий. 8899270. Что такое химическая технология энергонасыщенных материалов и изделий фото. Что такое химическая технология энергонасыщенных материалов и изделий-8899270. картинка Что такое химическая технология энергонасыщенных материалов и изделий. картинка 8899270. Кафедра «Технология твердых химических веществ»., (3.17)

где Е – удельная работоспособность;

P 0 – давление продуктов реакции;

V 0 k – объём газообразных продуктов реакции;

Т – температура продуктов взрыва.

Работа, производимая ВВ при практическом их применении, составляет небольшую долю ее максимального теоретического значения, в лучшем случае не более 30…50 %, что еще более затрудняет оценку действительно возможной работоспособности по вычисленным значениям. Поэтому чаще предпочитают сравнивать работоспособность на основе величин, полученных опытным путем.

Таблица 3.9 – Значения относительной работоспособности V (см 3 )
для некоторых взрывчатых веществ

Исходя из определения, тротиловый эквивалент dT можно выразить уравнением:

Что такое химическая технология энергонасыщенных материалов и изделий. 8899272. Что такое химическая технология энергонасыщенных материалов и изделий фото. Что такое химическая технология энергонасыщенных материалов и изделий-8899272. картинка Что такое химическая технология энергонасыщенных материалов и изделий. картинка 8899272. Кафедра «Технология твердых химических веществ»., (3.18)

Что такое химическая технология энергонасыщенных материалов и изделий. 8899273. Что такое химическая технология энергонасыщенных материалов и изделий фото. Что такое химическая технология энергонасыщенных материалов и изделий-8899273. картинка Что такое химическая технология энергонасыщенных материалов и изделий. картинка 8899273. Кафедра «Технология твердых химических веществ».— идеальная работоспособность;

Что такое химическая технология энергонасыщенных материалов и изделий. 8899274. Что такое химическая технология энергонасыщенных материалов и изделий фото. Что такое химическая технология энергонасыщенных материалов и изделий-8899274. картинка Что такое химическая технология энергонасыщенных материалов и изделий. картинка 8899274. Кафедра «Технология твердых химических веществ».— идеальный термодинамический коэффициент по-лезного действия взрыва;

Qвзр – удельная теплота взрыва, кДж/кг.

Что такое химическая технология энергонасыщенных материалов и изделий. 8899276. Что такое химическая технология энергонасыщенных материалов и изделий фото. Что такое химическая технология энергонасыщенных материалов и изделий-8899276. картинка Что такое химическая технология энергонасыщенных материалов и изделий. картинка 8899276. Кафедра «Технология твердых химических веществ».. (3.19)

Экспериментально тротиловый эквивалент чаще всего находят путем измерения параметров ударной волны в воздухе. Находят такие массы тротила, которые генерируют ударные волны такой же интенсивности, как единицы масс исследуемых ВВ. Выбор именно этого метода объясняется тем, что процесс формирования ударной волны в воздухе в наибольшей мере приближается к идеальному адиабатическому расширению продуктов взрыва, производящему уплотнение воздуха.

Ударная воздушная волна и ее параметры

Что такое химическая технология энергонасыщенных материалов и изделий. 8899277. Что такое химическая технология энергонасыщенных материалов и изделий фото. Что такое химическая технология энергонасыщенных материалов и изделий-8899277. картинка Что такое химическая технология энергонасыщенных материалов и изделий. картинка 8899277. Кафедра «Технология твердых химических веществ».

Что такое химическая технология энергонасыщенных материалов и изделий. 8899278. Что такое химическая технология энергонасыщенных материалов и изделий фото. Что такое химическая технология энергонасыщенных материалов и изделий-8899278. картинка Что такое химическая технология энергонасыщенных материалов и изделий. картинка 8899278. Кафедра «Технология твердых химических веществ».. (3.20)

2. Скоростной напор воздуха (динамическая нагрузка, т.е. поток энергии) обладает метательным действием. Совместное воздействие этих двух параметров УВВ приводит к разрушениям объектов и жертвам

Что такое химическая технология энергонасыщенных материалов и изделий. 8899279. Что такое химическая технология энергонасыщенных материалов и изделий фото. Что такое химическая технология энергонасыщенных материалов и изделий-8899279. картинка Что такое химическая технология энергонасыщенных материалов и изделий. картинка 8899279. Кафедра «Технология твердых химических веществ».. (3.21)

3. Импульс избыточного давления

Что такое химическая технология энергонасыщенных материалов и изделий. 8899280. Что такое химическая технология энергонасыщенных материалов и изделий фото. Что такое химическая технология энергонасыщенных материалов и изделий-8899280. картинка Что такое химическая технология энергонасыщенных материалов и изделий. картинка 8899280. Кафедра «Технология твердых химических веществ».. (3.22)

4. Длительность фазы сжатия

Что такое химическая технология энергонасыщенных материалов и изделий. 8899281. Что такое химическая технология энергонасыщенных материалов и изделий фото. Что такое химическая технология энергонасыщенных материалов и изделий-8899281. картинка Что такое химическая технология энергонасыщенных материалов и изделий. картинка 8899281. Кафедра «Технология твердых химических веществ».. (3.23)

5. Длина ударной волны

Что такое химическая технология энергонасыщенных материалов и изделий. 8899282. Что такое химическая технология энергонасыщенных материалов и изделий фото. Что такое химическая технология энергонасыщенных материалов и изделий-8899282. картинка Что такое химическая технология энергонасыщенных материалов и изделий. картинка 8899282. Кафедра «Технология твердых химических веществ»., (3.24)

где Что такое химическая технология энергонасыщенных материалов и изделий. 8899283. Что такое химическая технология энергонасыщенных материалов и изделий фото. Что такое химическая технология энергонасыщенных материалов и изделий-8899283. картинка Что такое химическая технология энергонасыщенных материалов и изделий. картинка 8899283. Кафедра «Технология твердых химических веществ».— размерные коэффициенты;

R – расстояние от центра заряда, м;

r – радиус заряда, м.

Заряды имеют сферическую форму.

В выражениях (3.20)-(3.24) коэффициенты Что такое химическая технология энергонасыщенных материалов и изделий. 8899283. Что такое химическая технология энергонасыщенных материалов и изделий фото. Что такое химическая технология энергонасыщенных материалов и изделий-8899283. картинка Что такое химическая технология энергонасыщенных материалов и изделий. картинка 8899283. Кафедра «Технология твердых химических веществ».отражают энергетические эквиваленты единицы массы ВВ. Соответственно они являются индивидуальными характеристиками каждого ВВ. Численно они равны соответствующему параметру волны, измеренному при взрыве 1 кг ВВ на расстоянии 1 м от центра заряда.

На практике зависимости выражают через так называемые приведенные величины, например, приведенные расстояния Что такое химическая технология энергонасыщенных материалов и изделий. 8899286. Что такое химическая технология энергонасыщенных материалов и изделий фото. Что такое химическая технология энергонасыщенных материалов и изделий-8899286. картинка Что такое химическая технология энергонасыщенных материалов и изделий. картинка 8899286. Кафедра «Технология твердых химических веществ».. Тогда параметры ударной волны становятся функциями приведенных расстояний. Справедливость выражений (3.20)-(3.23) была проверена М.А. Садовским для реальных зарядов тротила [15]. Им было установлено, что зависимость для импульса ударной волны соблюдается с удовлетворительной точностью, а избыточное давление более точно описывается выражением типа полинома:

Что такое химическая технология энергонасыщенных материалов и изделий. 8899287. Что такое химическая технология энергонасыщенных материалов и изделий фото. Что такое химическая технология энергонасыщенных материалов и изделий-8899287. картинка Что такое химическая технология энергонасыщенных материалов и изделий. картинка 8899287. Кафедра «Технология твердых химических веществ».. (3.25)

С помощью формул (3.20) и (3.25) можно определить тротиловый эквивалент исследуемого ВВ. На рисунке 3.13 приведены кривые изменения давления в ударной волне в зависимости от приведенного расстояния при взрыве тротила на поверхности земли и в воздухе.

Что такое химическая технология энергонасыщенных материалов и изделий. 8899288. Что такое химическая технология энергонасыщенных материалов и изделий фото. Что такое химическая технология энергонасыщенных материалов и изделий-8899288. картинка Что такое химическая технология энергонасыщенных материалов и изделий. картинка 8899288. Кафедра «Технология твердых химических веществ».

Что такое химическая технология энергонасыщенных материалов и изделий. 8899289. Что такое химическая технология энергонасыщенных материалов и изделий фото. Что такое химическая технология энергонасыщенных материалов и изделий-8899289. картинка Что такое химическая технология энергонасыщенных материалов и изделий. картинка 8899289. Кафедра «Технология твердых химических веществ»., (3.26)

Что такое химическая технология энергонасыщенных материалов и изделий. 8899291. Что такое химическая технология энергонасыщенных материалов и изделий фото. Что такое химическая технология энергонасыщенных материалов и изделий-8899291. картинка Что такое химическая технология энергонасыщенных материалов и изделий. картинка 8899291. Кафедра «Технология твердых химических веществ».— расчетный аргумент (безразмерная величина);

Что такое химическая технология энергонасыщенных материалов и изделий. 8899292. Что такое химическая технология энергонасыщенных материалов и изделий фото. Что такое химическая технология энергонасыщенных материалов и изделий-8899292. картинка Что такое химическая технология энергонасыщенных материалов и изделий. картинка 8899292. Кафедра «Технология твердых химических веществ».— полная энергия взрыва заряда, ккал;

QV – удельная теплота взрыва, ккал/кг;

m – масса заряда, кг.

Что такое химическая технология энергонасыщенных материалов и изделий. 8899293. Что такое химическая технология энергонасыщенных материалов и изделий фото. Что такое химическая технология энергонасыщенных материалов и изделий-8899293. картинка Что такое химическая технология энергонасыщенных материалов и изделий. картинка 8899293. Кафедра «Технология твердых химических веществ».. (3.27)

Таким образом, зная параметры УВВ в ближней зоне и при распространении на значительные расстояния, можно не только произвести расчет разрушающего действия взрыва, но и определить безопасные расстояния до конструкций защитных сооружений.

Воздействие ударной воздушной волны на человека

При взрыве образуется очаг поражения с ударной волной и световым излучением. В очаге взрыва можно выделить три сферических зоны (рисунок 3.15) [14].

Что такое химическая технология энергонасыщенных материалов и изделий. 8899294. Что такое химическая технология энергонасыщенных материалов и изделий фото. Что такое химическая технология энергонасыщенных материалов и изделий-8899294. картинка Что такое химическая технология энергонасыщенных материалов и изделий. картинка 8899294. Кафедра «Технология твердых химических веществ».

1 – зависимость Что такое химическая технология энергонасыщенных материалов и изделий. 8899295. Что такое химическая технология энергонасыщенных материалов и изделий фото. Что такое химическая технология энергонасыщенных материалов и изделий-8899295. картинка Что такое химическая технология энергонасыщенных материалов и изделий. картинка 8899295. Кафедра «Технология твердых химических веществ».(x); 2 – зависимость D 1 (x), рассчитанная
по формуле Садовского [15]

Что такое химическая технология энергонасыщенных материалов и изделий. 8899296. Что такое химическая технология энергонасыщенных материалов и изделий фото. Что такое химическая технология энергонасыщенных материалов и изделий-8899296. картинка Что такое химическая технология энергонасыщенных материалов и изделий. картинка 8899296. Кафедра «Технология твердых химических веществ».

Зона I детонационной волны находится в пределах облака взрыва, радиус которого определяется как

Что такое химическая технология энергонасыщенных материалов и изделий. 8899297. Что такое химическая технология энергонасыщенных материалов и изделий фото. Что такое химическая технология энергонасыщенных материалов и изделий-8899297. картинка Что такое химическая технология энергонасыщенных материалов и изделий. картинка 8899297. Кафедра «Технология твердых химических веществ».,

где m – масса продуктов взрыва, кг.

В пределах зоны I избыточное давление можно считать постоянным и равным 1,7…2,0 МПа.

Зона III – зона действия УВВ. Здесь формируется фронт УВВ.

Непосредственное поражение УВВ людей приводит к травмам:

· крайне тяжелые (обычно несовместимы с жизнью) наблюдаются при воздействии избыточного давления величиной свыше 100 кПа;

· тяжелые (сильная контузия организма, поражение внутренних органов, потеря конечностей, сильное кровотечение из носа и ушей) возникают при избыточном давлении от 60 до 100 кПа;

· средние (контузия, повреждение органов слуха, кровотечение, вывихи) имеют место при избыточном давлении от 40 до 60 кПа;

· легкие (ушибы, вывихи, временная потеря слуха, общая контузия) наблюдаются при избыточном давлении от 20 до 40 кПа.

Эти же параметры УВВ приводят к разрушениям, характер которых зависит от нагрузки, создаваемой УВВ, и реакций предмета на действия этой нагрузки. Поражения объектов, вызванные УВВ, можно характеризовать степенью их разрушений в зависимости от расстояния (зоны разрушений).

Зона полных разрушений является зоной, в которой восстановить разрушенные объекты невозможно. Массовая гибель всего живого. Занимает до 13 % всей площади очага поражения. Здесь полностью разрушены строения, до 50 % противорадиационных укрытий, до 5 % убежищ и подземных коммуникаций. Сплошных пожаров не возникает из-за сильных разрушений, срыва пламени ударной волной, разлета воспламенившихся обломков и засыпки их грунтом. Эта зона характеризуется величиной избыточного давления более 50 кПа.

Зона сильных разрушений занимает площадь до 10 % очага поражения. Строения сильно повреждены, убежища и коммунальные сети сохраняются, 75 % укрытий сохраняют свои защитные свойства. Есть местные завалы, зоны сплошных пожаров. Зона характеризуется избыточным давлением от 30 до 50 кПа.

Зона средних разрушений наблюдается при избыточном давлении от 20 до 30 кПа, занимает площадь до 15 % очага поражения. Строения получают средние разрушения, а защитные сооружения и коммунальные сети сохраняются. Могут быть местные завалы, участки сплошных пожаров, массовые санитарные потери незащищенного населения.

Зона слабых разрушений характеризуется избыточным давлением от 10 до 20 кПа и занимает до 62 % площади очага поражения. Строения получают слабые повреждения (разрушения перегородок, дверей, окон), могут быть отдельные завалы, очаги пожаров, а у людей – травмы.

Кумулятивное действие взрыва

Действие взрыва можно усилить в определенном направлении, например, в сторону разрушаемого объекта. Такое направленное действие взрыва основано на явлении кумуляции (cumulatio – увеличивать, суммировать), заключающемся в том, что заряды, имеющие на поверхности выемку, обеспечивают в направлении последней повышенный разрушительный эффект (впервые явление кумуляции наблюдалось в 1864 г. русским военным инженером М.М. Божевским).

Если заряд 1 (рисунок 3.16) взрывчатого вещества имеет выемку 2 в виде конуса, то при взрыве заряда 1 газообразные продукты, движущиеся от поверхности конуса по нормали, образуют сходящийся поток, имеющий вид мощной тонкой струи. Сущность явления кумуляции состоит в концентрации, направлении энергии взрыва и создании уплотненного газового потока в области кумулятивной выемки 2. В результате столкновения и сжатия продуктов взрыва кумулятивный поток приобретает высокую плотность, скорость, температуру и давление.

Одним из интереснейших физических эффектов, реализующихся за счет создания условий, обеспечивающих кумуляцию энергии, является формирование высокоскоростных кумулятивных струй при взрыве осесимметричного заряда ВВ с выемкой, облицованной тонкой металлической оболочкой. Благодаря большой скорости (до 10 км/с) такие кумулятивные струи обладают высокой пробивной способностью, определяемой (в соответствии с гидродинамической теорией проникновения) их длиной и плотностью материала.

Что такое химическая технология энергонасыщенных материалов и изделий. 8899298. Что такое химическая технология энергонасыщенных материалов и изделий фото. Что такое химическая технология энергонасыщенных материалов и изделий-8899298. картинка Что такое химическая технология энергонасыщенных материалов и изделий. картинка 8899298. Кафедра «Технология твердых химических веществ».

Изменяя форму и размеры заряда ВВ и кумулятивной облицовки, а также материал облицовки, можно реализовать различные режимы кумуляции и варьировать пробивное действие кумулятивных зарядов в широких пределах. Наибольшим пробивным действием обладают кумулятивные заряды, формирующие высокоградиентные кумулятивные струи из достаточно высокоплотных материалов, обладающих хорошей пластичностью. При рациональном выборе конструктивных параметров таких зарядов и прецизионной технологии их изготовления, глубина пробития стальной преграды может составлять свыше десяти диаметров заряда, что близко к ее предельному значению. Дальнейший рост пробивного действия заряда связан с поиском новых нетрадиционных путей управления процессами кумуляции и реализацией новых физических эффектов.

Одним из таких путей, позволяющих «вторгнуться» в физические механизмы процессов, определяющих эффективность функционирования кумулятивного заряда, с целью изменить характер их протекания в нужном направлении, является использование различных вариантов электромагнитных воздействий. В зависимости от решаемой задачи такие воздействия могут приводить как к увеличению, так и к снижению пробивного действия кумулятивного заряда. Данные работы по явлению электромагнитных воздействий на эффект кумуляции проводились в МГТУ им. Баумана (г. Москва) совместно с институтом гидродинамики им. М.А. Лаврентьева (г. Новосибирск) [20]. Электромагнитные воздействия, осуществляемые на различных стадиях функци-онирования кумулятивного заряда, представлены на рисунке 3.17.

Что такое химическая технология энергонасыщенных материалов и изделий. 8899299. Что такое химическая технология энергонасыщенных материалов и изделий фото. Что такое химическая технология энергонасыщенных материалов и изделий-8899299. картинка Что такое химическая технология энергонасыщенных материалов и изделий. картинка 8899299. Кафедра «Технология твердых химических веществ».

К числу воздействий, направленных на снижение пробивного действия, относятся создание аксиального магнитного поля в облицовке кумулятивного заряда непосредственно перед его подрывом (см. рисунок 3.17, воздействие 1,), пропускание мощного электрического тока по кумулятивной струе (воздействие 2) и создание поперечного к направлению движение струи магнитного поля в материале проводящей преграды (воздействие 3). На повышение пробивной способности кумулятивного заряда направлены «мягкое» токовое воздействие на струю (воздействие 4), а также варианты создания продольного низкочастотного (воздействие 5) и высокочастотного (воздействие 6) магнитных полей в области деформирования струи в полете до ее взаимодействия с преградой. Воздействия 2, 4, 5 и 6 на сформировавшуюся кумулятивную струю ориентированы на управление процессом ее деформирования и последующего разрушения. Воздействие 1 позволяет влиять на процесс схлопывания облицовки и формирование кумулятивной струи в начальной стадии.

Представление, например, о степени снижения пробития преграды кумулятивным зарядом при электродинамическом воздействии различной интенсивности дает рисунок 3.18, где приведены кривые изменения разрядного тока, протекающего через кумулятивную струю, полученные в экспериментах с зарядом диаметром 50 мм при его действии на стальную (рисунок 3.18 а) и алюминиевую (рисунок 3.18 б) преграды (при размещении одного из электродов непосредственно на преграде).

Что такое химическая технология энергонасыщенных материалов и изделий. 8899300. Что такое химическая технология энергонасыщенных материалов и изделий фото. Что такое химическая технология энергонасыщенных материалов и изделий-8899300. картинка Что такое химическая технология энергонасыщенных материалов и изделий. картинка 8899300. Кафедра «Технология твердых химических веществ».

Что такое химическая технология энергонасыщенных материалов и изделий. 8899301. Что такое химическая технология энергонасыщенных материалов и изделий фото. Что такое химическая технология энергонасыщенных материалов и изделий-8899301. картинка Что такое химическая технология энергонасыщенных материалов и изделий. картинка 8899301. Кафедра «Технология твердых химических веществ».

а) – при действии на стальную преграду, б) – при действии
на алюминиевую преграду; цифры над кривыми – глубина
пробития преграды

Для каждой кривой указана глубина пробития преграды, соответствующая данному режиму электродинамического воздействия. В отсутствие воздействия глубина пробития стальной преграды составляет 210 мм, а алюминиевой преграды – 365 мм.

Наиболее вероятные физические причины снижения глубины пробития преграды кумулятивной струей при электродинамическом воздействии – это развитие магнитогидродинамической (МГД) неустойчивости перетяжечного типа и объёмное разрушение материала струи. Оба этих механизма обусловлены действующими на струю при протекании по ней тока пондеромоторными нагрузками, эквивалентными приложенному к поверхности струи магнитному давлению

Что такое химическая технология энергонасыщенных материалов и изделий. 8899302. Что такое химическая технология энергонасыщенных материалов и изделий фото. Что такое химическая технология энергонасыщенных материалов и изделий-8899302. картинка Что такое химическая технология энергонасыщенных материалов и изделий. картинка 8899302. Кафедра «Технология твердых химических веществ».,

I – сила тока, протекающего по кумулятивной струе, А ;

Объёмное разрушение кумулятивной струи проявляется в виде радиального рассеивания материала струи при ее выходе из межэлектродного промежутка. Это влечет за собой последующее уменьшение средней плотности материала элементов струи и, как следствие, снижение ее пробивной способности.

Таким образом, учеными [20] экспериментально и теоретически показана возможность электромагнитного управления кумулятивным эффектом взрыва. Снижение пробития достигается пропусканием мощного импульсного электрического воздействия по кумулятивной струе, созданием аксиального магнитного поля в кумулятивной облицовке непосредственно перед подрывом заряда, а также созданием поперечного магнитного поля в материале проводящей преграды. На повышение пробивной способности струи за счет увеличения ее предельного удлинения ориентированы варианты воздействия на нее продольного низкочастотного и высокочастотного магнитных полей, а также «мягкое» токовое воздействие.

Взрывчатые вещества при обычных условиях обладают определенной степенью устойчивости. Это позволяет сравнительно легко получать ВВ в промышленных масштабах, подвергая их при этом целому ряду как химических, так и физических воздействий. Однако подобная устойчивость ВВ к внешним воздействиям имеет определенную границу. Независимо от того, проявляется ли внешнее воздействие в виде нагревания, удара, трения или иного вида энергии, при переходе определенного предела воздействия во взрывчатом веществе возникает экзотермический процесс распада, который, начавшись хотя бы в одной точке ВВ, распространяется в дальнейшем по всей массе ВВ в виде вспышки, горения или детонации.

Чувствительность ВВ к внешним воздействиям определяется тем минимальным внешним воздействием, которое вызывает в системе ВВ процесс взрывного превращения. Такой минимальный порог инициирования (внешнего воздействия) ВВ и будет являться критерием безопасности вещества по отношению к тому или иному виду воздействия с учётом коэффициента безопасности.

Критерии безопасности ВВ, являющиеся основными критериями при оценке эксплуатационной безопасности объектов:

· чувствительность к тепловому импульсу;

· чувствительность к удару;

· чувствительность к трению;

· чувствительность к электростатическому разряду;

· чувствительность к совместным воздействиям.

4.1 Чувствительность ВВ к тепловому импульсу

Определение температуры вспышки

Мерой чувствительности ВВ к нагреву обычно служит температура их вспышки, устанавливаемая при определенных условиях опыта. Если поместить навеску ВВ в объём с достаточно высокой постоянной или медленно возрастающей температурой, то через некоторое время вещество прогревается до температуры окружающей среды и может произойти вспышка. Механизм вспышки в этих условиях соответствует механизму теплового взрыва и определяется соотношением теп-
лоприхода в результате экзотермических реакций в нагретом веществе и теплоотвода в окружающую среду.

Температура вспышки ВВ зависит от количества испытываемого ВВ, скорости нагрева и других условий опыта, определяющих условия теплоприхода и теплоотвода.

Наиболее распространены два варианта определения температуры вспышки.

1. Определенное количество ВВ (обычно 0,05 г) в пробирке помещают в металлическую баню, заполненную легкоплавким сплавом Вуда (сплав: Bi (50 %), Pb (25 %), Sn (12,5 %) и Cd (12,5 %), имеющий температуру плавления tпл

68 0 С] и предварительно нагретую до 100 о С. Дальнейший нагрев производится со скоростью 20 о С в минуту. Отмечают температуру сплава в момент вспышки и характер вспышки ВВ.

Что такое химическая технология энергонасыщенных материалов и изделий. 8899304. Что такое химическая технология энергонасыщенных материалов и изделий фото. Что такое химическая технология энергонасыщенных материалов и изделий-8899304. картинка Что такое химическая технология энергонасыщенных материалов и изделий. картинка 8899304. Кафедра «Технология твердых химических веществ»., (4.1)

где R – универсальная газовая постоянная, равна 8,314 Дж/(Кмоль);

T – температура вспышки, ºС.

В таблице 4.1 приведены известные значения температуры вспышки при нагревании для некоторых ВВ. Зависимость температуры вспышки ВВ от массы заряда объясняется тем, что теплоприход пропорционален объёму ВВ, а теплоотвод – его поверхности. С увеличением массы ВВ температура вспышки снижается. С увеличением скорости нагрева ВВ температура вспышки возрастает. При слишком медленном нагреве бóльшая часть ВВ успевает разложиться при низких температурах без вспышки. При быстром достижении температуры, превышающей температуру кипения ВВ, оно превращается в пар, вспышка вследствие меньшей плотности и меньшего самоускорения распада возникает труднее.

Таблица 4.1 – Значения температуры вспышки при нагревании
для некоторых ВВ

Температура вспышки ( о С) при нагревании

температуре с задержкой

Определение воспламеняемости ВВ

Одной из важнейших характеристик чувствительности ВВ к тепловым воздействиям является его способность воспламеняться от внешнего источника тепла. Необходимое количество подводимого тепла Q зависит от свойств ВВ и внешних условий и определяется выражением:

Что такое химическая технология энергонасыщенных материалов и изделий. 8899305. Что такое химическая технология энергонасыщенных материалов и изделий фото. Что такое химическая технология энергонасыщенных материалов и изделий-8899305. картинка Что такое химическая технология энергонасыщенных материалов и изделий. картинка 8899305. Кафедра «Технология твердых химических веществ»., (4.2)

Ur – скорость горения ВВ, м/с;

Tn – температура поверхности ВВ, ºС;

T 0 – начальная температура ВВ, ºС.

При порционном подводе тепла существенное значение имеет скорость его подвода к поверхности ВВ с учётом теплоотвода в глубь вещества, определяющего температуру на поверхности ВВ и ее градиент по толщине заряда. Исходя из этого, мерой чувствительности ВВ к поджигающему импульсу может быть либо минимальное количество тепла при заданной скорости его подвода, необходимое для поджигания при постоянных условиях опыта, либо некоторые переменные величины, определяющие режим горения при постоянном значении теплового источника. В качестве таких переменных величин могут быть использованы начальная температура ВВ или давление окружающей газовой среды, поскольку скорость горения большинства ВВ с давлением связана линейной зависимостью. В соответствии с указанным принципом созданы и развиваются экспериментальные методы оценки воспламеняемости ВВ.

Наиболее простым в экспериментальном исполнении является метод определения чувствительности ВВ к лучу огня от огнепроводного шнура. По этому методу в пробирку, укрепленную на штативе, помещают навеску испытываемого ВВ (обычно 1 г), вводят отрезок огнепроводного шнура длиной от 5 до 10 мм так, чтобы он касался поверхности ВВ. После зажигания огнепроводного шнура фиксируют воспламенение или отказ. В другом варианте этого метода отрезок шнура помещают на некотором расстоянии от поверхности ВВ. Мерой воспламеняемости в этом случае служит максимальное расстояние, на котором еще воспламеняется ВВ.

При сравнительной оценке чувствительности к лучу огня, кроме величины температуры вспышки, немаловажную роль играет и то минимальное количество вещества, которое необходимо воспламенить для обеспечения условий распространения процесса по всему объёму.

Что такое химическая технология энергонасыщенных материалов и изделий. 8899306. Что такое химическая технология энергонасыщенных материалов и изделий фото. Что такое химическая технология энергонасыщенных материалов и изделий-8899306. картинка Что такое химическая технология энергонасыщенных материалов и изделий. картинка 8899306. Кафедра «Технология твердых химических веществ».

1 – датчик давления; 2 – корпус бомбы; 3 – заряд ВВ;
4 – электровывод; 5 – затвор бомбы

В практике нередко происходит поджигание заряда ВВ взрывными волнами от соседних зарядов, например, при аварийных ситуациях при хранении ВВ, боеприпасов или в шпурах, когда расстояние между зарядами не превышает расстояние передачи детонации. Поэтому представляет интерес оценить воспламеняемость ВВ под воздействием такого рода импульсов. Разработана методика оценки воспламеняемости ВВ под воздействием воздушной волны, получаемой в ударной трубе (рисунок 4.2).

Что такое химическая технология энергонасыщенных материалов и изделий. 8899307. Что такое химическая технология энергонасыщенных материалов и изделий фото. Что такое химическая технология энергонасыщенных материалов и изделий-8899307. картинка Что такое химическая технология энергонасыщенных материалов и изделий. картинка 8899307. Кафедра «Технология твердых химических веществ».

воспламеняемости в ударной трубе

По данной методике [7] навеску 3 исследуемого ВВ диаметром
10 мм и массой 10 г помещают в плексигласовую обойму, которую вставляют в секцию 2 низкого давления ударной трубы с внутренним диаметром 50 мм. Длина секций высокого 1 и низкого 2 давлений соответственно 1130 и 2730 мм. На конце секции низкого давления предусмотрен отсек с плексигласовыми смотровыми окнами, через которые вакуумным фотоэлементом СЦВ-4 фиксируется момент вспышки исследуемого ВВ. Сигнал от фотоэлемента 5 через усилитель поступает на двухлучевой катодный осциллограф 7 (ОК-17М). В секции низкого давления размещены также датчики давления 4 из титаната бория для измерения скорости движения ударной волны и запуска осциллографа. Сигналы с пьезодатчиков фиксируются электронным хронографом 6 «Нептун». Скорость ударной волны измеряют на мерной базе длиной 1380 мм, причем последний по ходу ударной волны пьезодатчик служит одновременно для запуска осциллографа ОК-17М, на который подается сигнал с фотоэлемента СЦВ-4. В эксперименте измеряют скорость ударной волны, по которой рассчитывают остальные параметры ударной волны и величину задержки вспышки ВВ.

4.2 Чувствительность ВВ к механическим воздействиям

Важнейшим вопросом эксплуатационной безопасности являются не только факт и уровень воздействия, ведущего к началу реакции во взрывчатом веществе, но и то, что эта реакция приводит к взрыву заряда. Известно, что у промышленных ВВ, особенно гранулированных и водонаполненных, критический диаметр заряда от 30 до 40 мм и более, а минимально детонирующая величина заряда на 1-2 порядка больше, чем величины навесок, применяемых в стандартных пробах для определения чувствительности ВВ к внешним механическим воздействиям (трению, удару). Следовательно, стандартные методы испытания ВВ на чувствительность к удару и трению, предназначенные для испытания малых навесок ВВ, неприемлемы для испытания смесевых промышленных ВВ, состоящих из нескольких компонентов, особенно крупнодисперсных. Поэтому рядом институтов и организаций были разработаны специальные пробы для промышленных ВВ и средств взрывания, принцип которых состоит в максимальном приближении условий воздействия на заряд ВВ к реальным условиям, которые могут встретиться при взрывных работах.

Из сказанного следует, что на основании результатов испытания данного ВВ в конкретных условиях далеко не всегда можно предвидеть, как поведет себя это ВВ в каких-то других условиях, например, при тех механических воздействиях, которым оно может подвергнуться в условиях промышленного применения. Поэтому с точки зрения безопасности технологических процессов на всех этапах производства и применения ВВ необходимо иметь полный комплекс критериев безопасности.

4.2.1 Чувствительность к удару

Что такое химическая технология энергонасыщенных материалов и изделий. 8899308. Что такое химическая технология энергонасыщенных материалов и изделий фото. Что такое химическая технология энергонасыщенных материалов и изделий-8899308. картинка Что такое химическая технология энергонасыщенных материалов и изделий. картинка 8899308. Кафедра «Технология твердых химических веществ».

а) прибор №1; б) прибор №2

Некоторые малотекучие, непластичные ВВ, такие, например, как пироксилин, не дающие взрывов в приборе №1, т.е. в условиях затрудненного течения, обнаруживают высокую частость взрыва в приборе №2. Напротив, ВВ, обладающие высокой текучестью, могут проявлять большую чувствительность в приборе №1, чем в приборе №2. При испытании жидких ВВ навеску помещают в чашечку из мягкого металла, чтобы исключить выплескивание ВВ из прибора №2 при
ударе.

При определении чувствительности к удару по нижнему пределу навеску вещества (0,12 г) подпрессовывают в штемпельном приборе под давлением до 300 МПа. По этому методу определяют максимальную высоту падения груза массой 10 кг (нижний предел), при которой получаются все отказы или не более одного взрыва из 25 определений. Взрывом обычно считают звуковой эффект, вспышку, дымообразование или обугливание ВВ. В том случае, когда при падающем грузе
10 кг нижний предел меньше 30 мм, определяют нижний предел с грузом массой 2 кг. Если отсутствуют взрывы при падения груза с высоты 500 мм, испытания прекращают и указывают, что нижний предел для испытываемого образца составляет более 500 мм.

При определении чувствительности к удару по частости взрывов испытания выполняют при постоянной высоте падения груза, равной 250 мм. Навеска ВВ составляет от 0,050 до 0,005 г. По этому методу чувствительность ВВ характеризуется частостью взрывов Х (%).

Что такое химическая технология энергонасыщенных материалов и изделий. 8899309. Что такое химическая технология энергонасыщенных материалов и изделий фото. Что такое химическая технология энергонасыщенных материалов и изделий-8899309. картинка Что такое химическая технология энергонасыщенных материалов и изделий. картинка 8899309. Кафедра «Технология твердых химических веществ»., (4.3)

где N – число взрывов;

n – число определений.

Результаты определения чувствительности некоторых веществ по описанным методикам приведены в таблице 4.2 [7].

Зависимости частости взрывов от давления прижатия, полученные на копре Боудена‑Козлова [23], приведены на рисунке 4.4. Как видно из зависимостей величины давлений прижатия для вторичных ВВ, соответствующие 100 % взрывов на кривой частости лежат в интервале от 5000 (ТЭН) до 11000 атмосфер (тротил).

Для характеристики относительной чувствительности ВВ при имитации условий эксплуатации (падение на жесткое основание, защемление между жесткими поверхностями и др.) испытания проводят на большом копре БК-6. В этом случае используют навеску исследуемого вещества массой 3 г, диаметром 41 мм и толщиной 10 мм. В качестве характеристики чувствительности принят нижний предел, выраженный максимальной высотой падения груза массой 24 кг, при которой не наблюдается разложения ВВ в 25 опытах. Характеристики относительной чувствительности некоторых веществ, определенные на большом копре БК-6, по частости взрывов (%) при высоте падения груза 2000 мм массой 24 кг приведены в таблице 4.3.

Таблица 4.2 – Чувствительность ВВ к удару

Ниж­ний пре­дел в при­бо­ре №2 при гру­зе мас­сой 10 кг, мм

Источник

Добавить комментарий

Ваш адрес email не будет опубликован. Обязательные поля помечены *

Название: «Химические технологии энергонасыщенных материалов и изделий»
Раздел: Остальные рефераты
Тип: реферат Добавлен 05:21:04 30 августа 2011 Похожие работы
Просмотров: 2242 Комментариев: 13 Оценило: 0 человек Средний балл: 0 Оценка: неизвестно Скачать